授权公布号:CN212790563U
一种新型的浆粥混合机
有效
申请
2020-06-28
申请公布
1970-01-01
授权
2021-03-26
预估到期
2030-06-28
| 申请号 | CN202021212741.3 |
| 申请日 | 2020-06-28 |
| 授权公布号 | CN212790563U |
| 授权公告日 | 2021-03-26 |
| 分类号 | B01F15/00;B01F7/08;B01F15/06;B01F7/04 |
| 分类 | 一般的物理或化学的方法或装置; |
| 申请人名称 | 保定天鹅新型纤维制造有限公司 |
| 申请人地址 | 河北省保定市顺平县经济开发区北园16路1号 |
专利法律状态
2021-03-26
授权
状态信息
授权
摘要
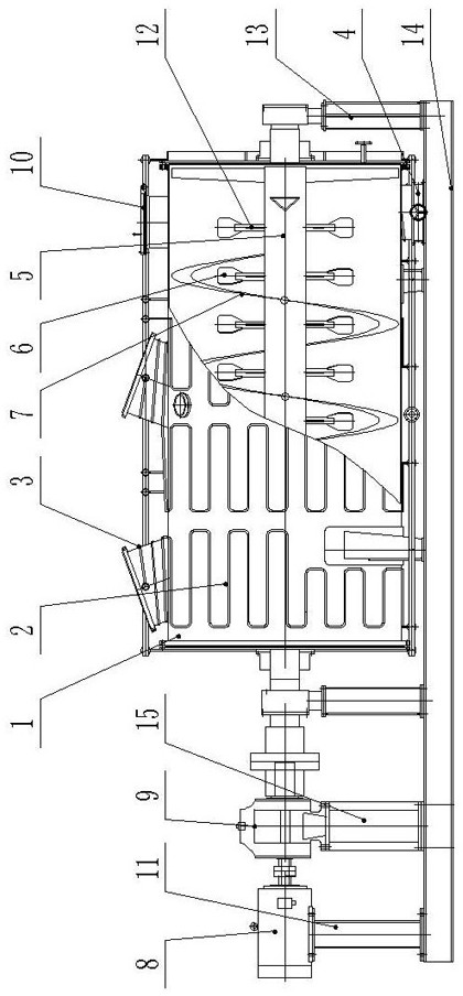
本实用新型公开了一种新型的浆粥混合机,包括筒体,所述筒体内同轴设置有搅拌轴,所述搅拌轴上固定设置有螺带,所述螺带与搅拌轴之间的空隙内设有多个搅拌叶片组,每个搅拌叶片组包括对称设置在搅拌轴上的两个搅拌叶片;所述筒体的外部沿周向包覆有伴热管;所述伴热管内通有热水,对筒体内的物料保温;本实用新型可以提高搅拌均匀性,避免物料沉积,提高物料混合效果,提高产品质量;可以有效减少物料输送残留,物料输送干净、彻底。


