授权公布号:CN216378900U
一种可视化钢丝绳预变形装置
有效
申请
2021-11-25
申请公布
1970-01-01
授权
2022-04-26
预估到期
2031-11-25
| 申请号 | CN202122913307.9 |
| 申请日 | 2021-11-25 |
| 授权公布号 | CN216378900U |
| 授权公告日 | 2022-04-26 |
| 分类号 | D07B7/02 |
| 分类 | 绳;除电缆以外的缆索; |
| 申请人名称 | 江苏狼山钢绳股份有限公司 |
| 申请人地址 | 江苏省南通市崇川区天生路511号 |
专利法律状态
2022-04-26
授权
状态信息
授权
摘要
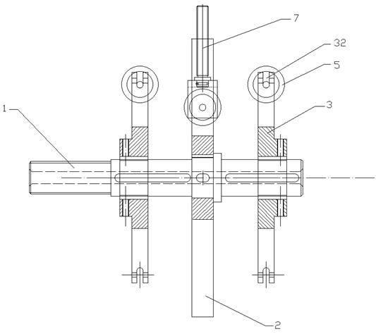
本实用新型涉及一种可视化钢丝绳预变形装置,其特征在于:包括空心主轴、中间盘、侧边盘、压辊架、托辊、螺杆座和调节螺杆;通过在中间盘上设置可调节的压辊架,通过调节螺杆驱动压辊架进行位置调节,同时在U型架上设置刻度标尺,可以更加直观的观察出压辊的调节距离,可以在生产过程中随时检查压辊压下的深度,避免了反复操作测量的麻烦,能够有效的提高工作效率,控制产品的质量。


