授权公布号:CN211412457U
一种轧机上的简易喷油装置
有效
申请
2019-12-04
申请公布
1970-01-01
授权
2020-09-04
预估到期
2029-12-04
| 申请号 | CN201922143764.7 |
| 申请日 | 2019-12-04 |
| 授权公布号 | CN211412457U |
| 授权公告日 | 2020-09-04 |
| 分类号 | B05B13/02;B05B15/00 |
| 分类 | 一般喷射或雾化;对表面涂覆液体或其他流体的一般方法〔2〕; |
| 申请人名称 | 江苏大力神科技股份有限公司 |
| 申请人地址 | 江苏省镇江市丹阳市开发区机场路95号 |
专利法律状态
2020-09-04
授权
状态信息
授权
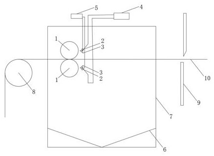
摘要
一种轧机上的简易喷油装置,设置在收卷导向辊(8)和液压剪刀(9)之间;包含有毛刷辊(1)、导轨(2)、喷嘴(3)、液压油泵(4)、空气增压泵(5)、集油盘(6)和密封罩(7);所述的毛刷辊(1)和导轨(2)各有两根,镜像对称的设置在钢带(10)的上下两侧;其特征在于:所述的喷嘴(3)共有两组,镜像对称的分布在上下导轨(2)上,且可以在导轨(2)上进行滑动。本实用新型结构简单,成本低廉,而且能有效的控制板面上的涂油量。


