授权公布号:CN214572126U
一种硅钢生产线退火炉前的换热装置
有效
申请
2020-12-25
申请公布
1970-01-01
授权
2021-11-02
预估到期
2030-12-25
| 申请号 | CN202023171001.2 |
| 申请日 | 2020-12-25 |
| 授权公布号 | CN214572126U |
| 授权公告日 | 2021-11-02 |
| 分类号 | C21D9/00;C21D1/26;C21D1/34;C21D1/74 |
| 分类 | 铁的冶金; |
| 申请人名称 | 江苏大力神科技股份有限公司 |
| 申请人地址 | 江苏省镇江市丹阳市开发区机场路95号 |
专利法律状态
2021-11-02
授权
状态信息
授权
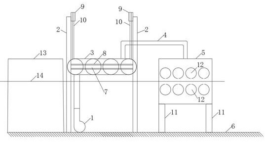
摘要
一种硅钢生产线退火炉前的换热装置,包含有抽风机(1)、立柱(2)、热交换器(3)、软管(4)和热风机(5);其特征在于:所述的热交换器(3)由若干组U形不锈钢管连接而成,一端固定在轴套(8)上,另一端通过链条(10)连接在立柱(2)顶端的链条盘(9)上,当链条盘(9)转动时,链条(10)拉动热交换器(3)绕着横轴(7)抬起或放下。本实用新型通过抽风机(1)将清洁空气抽到热交换器(3)内进行加热,然后再通过软管(4)将热空气输送到热风机(5)内来加热硅钢板(14),有效的利用了热能,避免了凝露导致的板面发蓝现象。


