授权公布号:CN209684958U
一种自动纠偏的钢带收卷机
有效
申请
2019-01-12
申请公布
1970-01-01
授权
2019-11-26
预估到期
2029-01-12
| 申请号 | CN201920053801.2 |
| 申请日 | 2019-01-12 |
| 授权公布号 | CN209684958U |
| 授权公告日 | 2019-11-26 |
| 分类号 | B65H23/038;B65H26/00 |
| 分类 | 输送;包装;贮存;搬运薄的或细丝状材料; |
| 申请人名称 | 赐宝新型薄板(江苏)有限公司 |
| 申请人地址 | 江苏省南通市海门经济开发区北海东路18号 |
专利法律状态
2019-11-26
授权
状态信息
授权
摘要
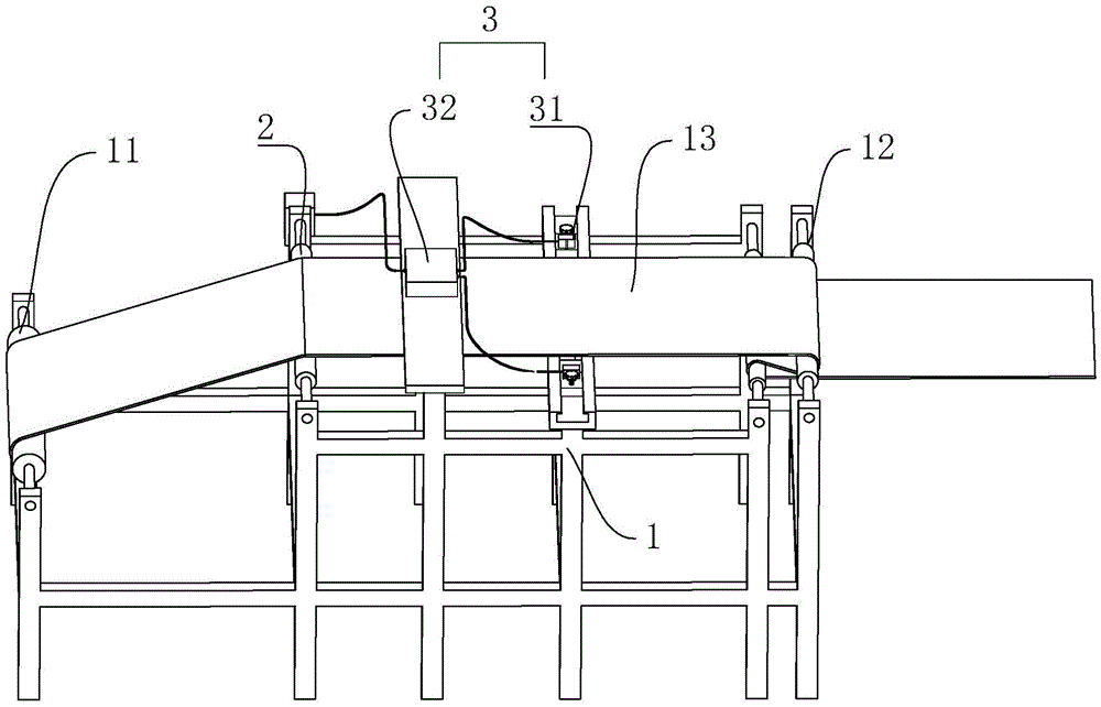
本实用新型公开了一种自动纠偏的钢带收卷机,涉及输送机械技术领域,旨在解决现有的收卷机在对钢带进行收卷的过程中难免会发生钢带发生位置偏移导致钢带滑脱的技术问题。其技术方案要点是包括机架、钢带、收卷机和张力机,收卷机设置在机架的一端,张力机设置在机架远离收卷机的一端,钢带设置在机架上。机架上设置有转向辊,转向辊靠近张力机的一侧设置有检测装置,检测装置包括设置在钢带两侧的距离传感器和信息处理装置,信息处理装置与转向辊电连接,距离传感器和钢带位于同一水平面上。达到了在钢带收卷过程中自动对钢带的位置进行检测,当钢带发生偏移的时候自动对钢带进行纠偏的效果。


