授权公布号:CN209614390U
可对废边进行收集的切边系统
有效
申请
2019-01-12
申请公布
1970-01-01
授权
2019-11-12
预估到期
2029-01-12
| 申请号 | CN201920053735.9 |
| 申请日 | 2019-01-12 |
| 授权公布号 | CN209614390U |
| 授权公告日 | 2019-11-12 |
| 分类号 | B23D15/06;B23D33/02 |
| 分类 | 机床;不包含在其他类目中的金属加工; |
| 申请人名称 | 赐宝新型薄板(江苏)有限公司 |
| 申请人地址 | 江苏省南通市海门经济开发区北海东路18号 |
专利法律状态
2019-11-12
授权
状态信息
授权
摘要
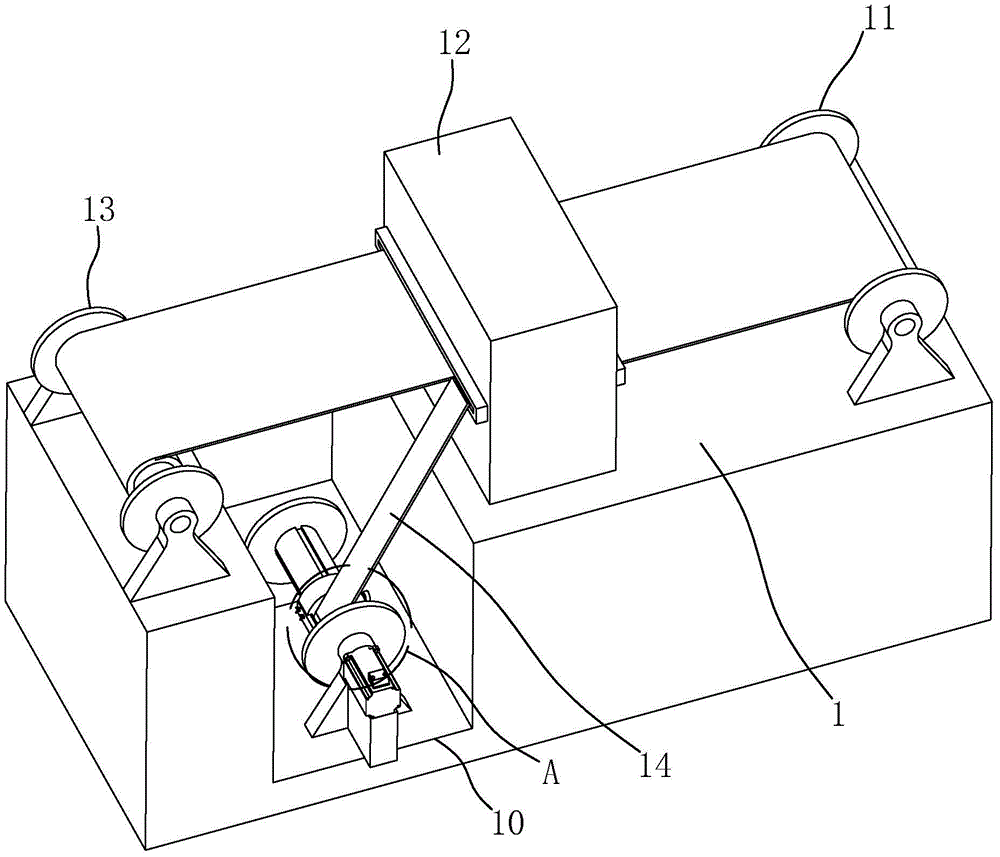
本实用新型公开了一种可对废边进行收集的切边系统,涉及一种废料切除装置技术领域,旨在解决金属废边收集不便的技术问题,其技术方案要点是工作台上依次放置有出料机构、滚剪机构和收料机构,工作台上设有收料孔,收料孔位于滚剪机构朝向收料机构的一侧,收料孔内设有支架,支架上转动连接有收卷辊,支架上设有用于驱使收卷辊转动的驱动件,使用时,将废边的头端绕设在收卷辊上,绕设一圈后,此后通过驱动件驱使收卷辊转动,即可对后续的废边进行自动收卷,即可完成对金属废边的收集,从而避免金属废边随意散落在工作台上,从而提高了工作台的整洁度,整体上具有可对金属废边进行收卷,使得工作台更整洁的优势。


