授权公布号:CN219720002U
防夹发的气囊梳梳面结构及发梳
有效
申请
2023-03-06
申请公布
1970-01-01
授权
2023-09-22
预估到期
2033-03-06
| 申请号 | CN202320398359.3 |
| 申请日 | 2023-03-06 |
| 授权公布号 | CN219720002U |
| 授权公告日 | 2023-09-22 |
| 分类号 | A45D24/04 |
| 分类 | 手携物品或旅行品; |
| 申请人名称 | 重庆谭木匠工艺品有限公司 |
| 申请人地址 | 江苏省镇江市句容市东昌中路7号尚岛1912谭木匠公司 |
专利法律状态
2023-09-22
授权
状态信息
授权
摘要
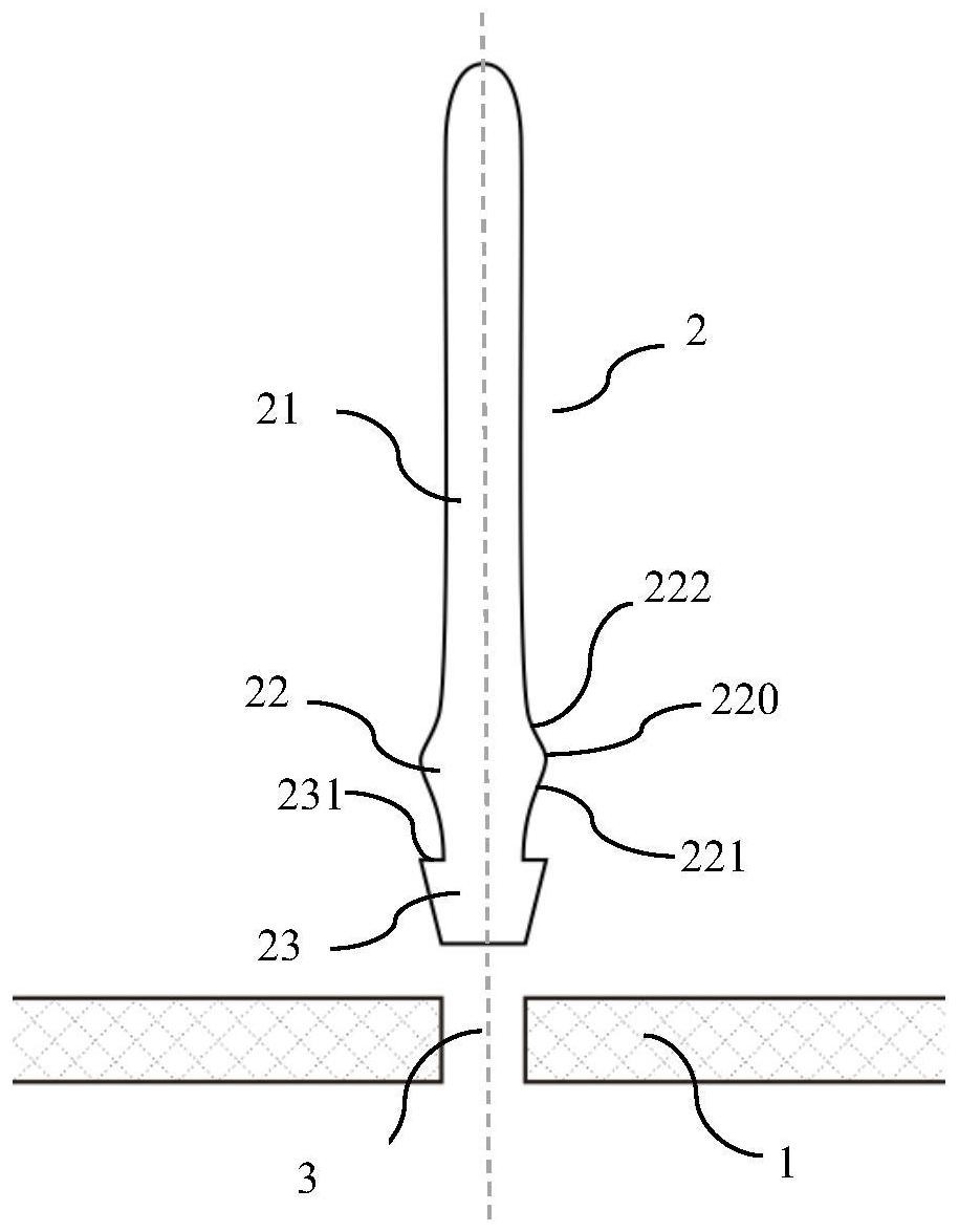
本实用新型公开了防夹发的气囊梳梳面结构及发梳,其特征在于:包括胶皮垫和梳齿;所述胶皮垫上开有多个与梳齿相对应的贯穿孔;所述梳齿自上而下依次包括梳齿上段、梳齿中段和梳齿下段;所述梳齿中段包括横截面为圆形且自下而上横截面直径逐渐递增的第一中段柱状体,以及横截面为圆形且自下而上横截面直径逐渐递减的第二中段柱状体;所述梳齿下段为倒圆台。相对现有技术而言,本实用新型整体无尖锐直角和棱角,梳齿受力倾倒歪斜时,倾倒的角度和产生的缝隙小,且外力作用时相应受挤压变形的部位会回弹填补产生的缝隙与夹角,不仅带来更好的梳头体验,还有效降低了拉掉/拉断头发等导致头发损伤的发生概率,兼具舒适性与安全性。


