授权公布号:CN217189926U
用于生产水泥矿粉的粉碎装置
有效
申请
2022-03-16
申请公布
1970-01-01
授权
2022-08-16
预估到期
2032-03-16
| 申请号 | CN202220573265.0 |
| 申请日 | 2022-03-16 |
| 授权公布号 | CN217189926U |
| 授权公告日 | 2022-08-16 |
| 分类号 | B02C13/18;B02C13/286;B02C13/282;B02C13/30 |
| 分类 | 破碎、磨粉或粉碎;谷物碾磨的预处理; |
| 申请人名称 | 燕新控股集团有限公司 |
| 申请人地址 | 河北省廊坊市三河市高楼镇孤山 |
专利法律状态
2022-08-16
授权
状态信息
授权
摘要
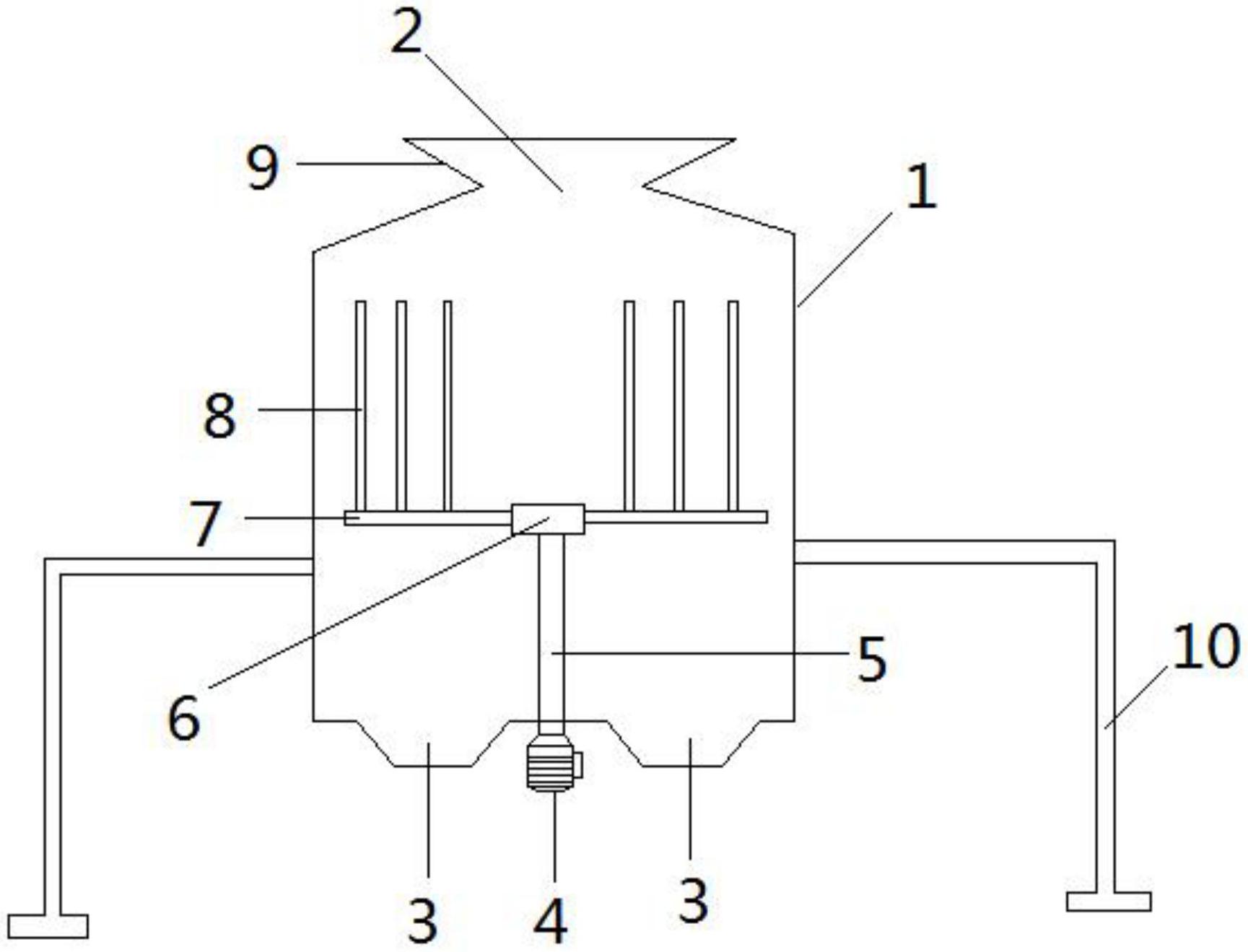
本实用新型公开了用于生产水泥矿粉的粉碎装置,涉及水泥生产技术领域。包括箱体、驱动装置以及粉碎组件,箱体的顶部设置有进料口,箱体的底部设置有两个出料口,并且进料口与出料口相对设置;驱动装置固定在箱体上,并且驱动装置设置在两个出料口的中间位置;粉碎组件设置在箱体的内部,并且粉碎组件与驱动装置传动连接,粉碎组件包括转动轴、连接盘、第一刀头以及第二刀头,转动轴与驱动装置的输出轴传动连接,连接盘固定连接在转动轴的顶端上,第一刀头沿着连接盘的周向进行固定,第二刀头垂直固定在各个第一刀头的端面上;从而解决了现有技术中用于生产水泥矿粉的粉碎装置的使用成本高以及粉碎效果不佳的问题。


