授权公布号:CN217715993U
一种分解炉缩口抗结皮装置
有效
申请
2022-06-02
申请公布
1970-01-01
授权
2022-11-01
预估到期
2032-06-02
| 申请号 | CN202221365076.0 |
| 申请日 | 2022-06-02 |
| 授权公布号 | CN217715993U |
| 授权公告日 | 2022-11-01 |
| 分类号 | F27D25/00 |
| 分类 | 炉;窑;烘烤炉;蒸馏炉〔4〕; |
| 申请人名称 | 福建春驰集团新丰水泥有限公司 |
| 申请人地址 | 福建省龙岩市新罗区适中镇新祠村(村委会旁) |
专利法律状态
2022-11-01
授权
状态信息
授权
摘要
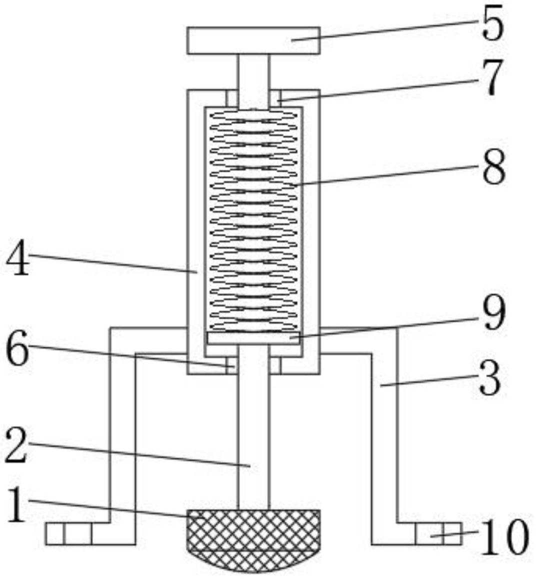
本实用新型涉及抗结皮装置技术领域,尤其涉及一种分解炉缩口抗结皮装置,其技术方案包括:橡胶头、连接杆、直角架、固定套、固定盘、第一插孔、第二插孔、弹簧、挡板和固定孔,所述固定套顶部开设有第二插孔,所述连接杆从第二插孔插入固定套内部,所述固定套内部活动安装有弹簧,所述连接杆穿过弹簧,所述连接杆插入固定套内部的一段安装有挡板,所述固定套底部开设有第一插孔,所述连接杆底部穿过第一插孔,所述连接杆底部安装有橡胶头,所述固定套两侧分别焊接有直角架。本实用新型具有结构简单,操作便捷,使用橡胶头对分解炉缩口处外侧冲击,将结皮震落,使用成本低,且不会对分解炉产生损坏的优点。


