授权公布号:CN218460300U
一种洗药机
有效
申请
2022-09-16
申请公布
1970-01-01
授权
2023-02-10
预估到期
2032-09-16
| 申请号 | CN202222466397.6 |
| 申请日 | 2022-09-16 |
| 授权公布号 | CN218460300U |
| 授权公告日 | 2023-02-10 |
| 分类号 | B08B3/10;B08B3/02 |
| 分类 | 清洁; |
| 申请人名称 | 康美药业股份有限公司 |
| 申请人地址 | 广东省揭阳市普宁市流沙揭神路东侧 |
专利法律状态
2023-02-10
授权
状态信息
授权
摘要
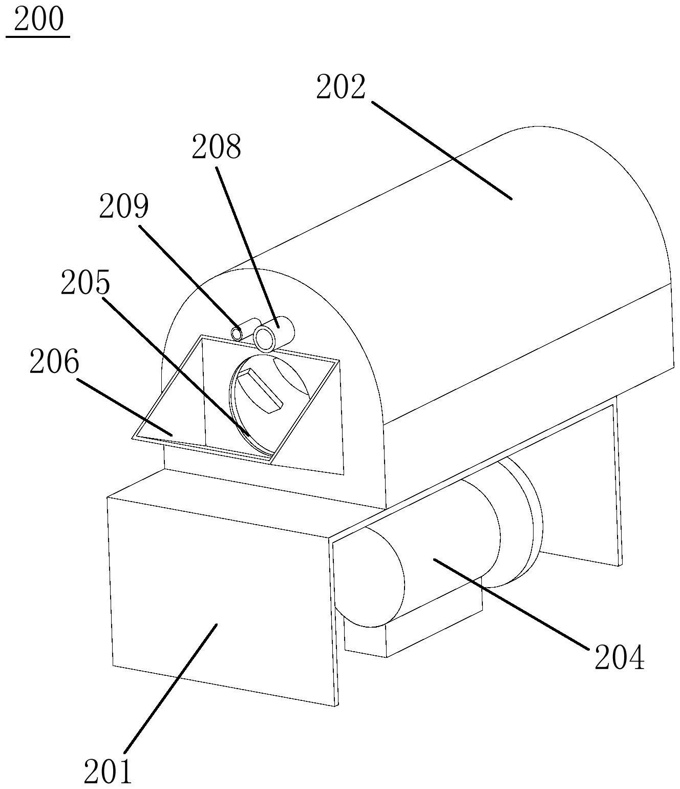
本实用新型属于药材加工设备技术领域,提供一种洗药机,包括机台、机罩、清洗筒及电机;机罩安装在机台的上部,清洗筒安装在机罩的内部,电机安装在机台的内部;机罩配置有喷水管及喷雾管,喷水管及喷雾管向清洗筒的内部延伸;电机驱动清洗筒旋转,喷水管喷水或喷雾管喷雾清洗药材;适应不同的药材清洗使用,替代人工清洗药材的生产方式,省时省力,提高了生产效率,清洗均匀,提升产品品质。


