授权公布号:CN206933210U
一种冰糖葫芦生产设备
有效
申请
2017-05-11
申请公布
1970-01-01
授权
2018-01-30
预估到期
2027-05-11
| 申请号 | CN201720520220.6 |
| 申请日 | 2017-05-11 |
| 授权公布号 | CN206933210U |
| 授权公告日 | 2018-01-30 |
| 分类号 | A23G3/02 |
| 分类 | 其他类不包含的食品或食料;及其处理; |
| 申请人名称 | 北京御食园食品股份有限公司 |
| 申请人地址 | 北京市怀柔区雁栖经济开发区乐园大街31号 |
专利法律状态
2018-01-30
授权
状态信息
授权
摘要
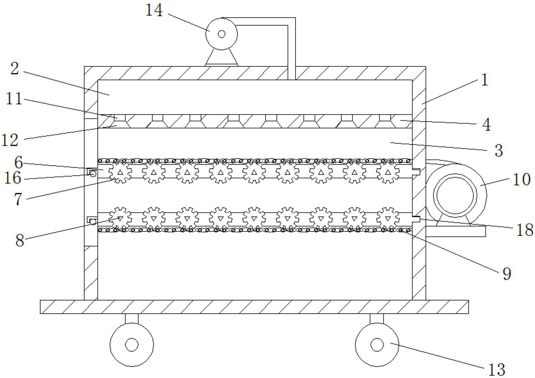
本实用新型涉及食品生产设备技术领域,尤其涉及一种冰糖葫芦生产设备;包括机体,所述机体包括至少一个送风室和加工室,所述送风室和所述加工室之间设有导流板,所述导流板上设有导流孔;所述加工室内设有至少一个可拆卸加工架,所述加工架上设有至少一组旋转夹持齿轮,各组旋转夹持齿轮包括并排设置的两个旋转夹持齿轮,各个旋转夹持齿轮的中心处设有夹持孔,其中一个所述旋转夹持齿轮通过传动链与驱动电机连接;所述导流孔与各组旋转夹持齿轮位置对应设置。本实用新型所公开的冰糖葫芦生产设备,由于设置了导流孔和旋转夹持齿轮,使得冷却风能够均匀地作用于糖浆的表面,使得糖葫芦的外观质量更加好,同时,提高了生产效率,提高了自动化程度。


