授权公布号:CN212328009U
一种便于清洁的食品生产用搅拌装置
有效
申请
2020-03-29
申请公布
1970-01-01
授权
2021-01-12
预估到期
2030-03-29
| 申请号 | CN202020422473.1 |
| 申请日 | 2020-03-29 |
| 授权公布号 | CN212328009U |
| 授权公告日 | 2021-01-12 |
| 分类号 | B01F7/16;B01F15/00 |
| 分类 | 一般的物理或化学的方法或装置; |
| 申请人名称 | 北京御食园食品股份有限公司 |
| 申请人地址 | 北京市怀柔区雁栖经济开发区牤牛河路71号院 |
专利法律状态
2021-01-12
授权
状态信息
授权
摘要
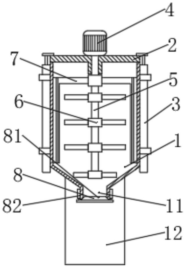
本实用新型公开了一种便于清洁的食品生产用搅拌装置,涉及食品加工领域,解决了现有技术中食品搅拌装置不易清洗的问题,其技术要点是:包括罐体,罐体的上端设有开口,罐体上端的开口处设有上盖和上盖升降单元,上盖升降单元固定连接到罐体的外侧,上盖上设有搅拌电机,搅拌电机在罐体内通过搅拌轴连接有搅拌叶,搅拌轴上还固定连接有刮板,刮板上设置有能够从刮板上便捷拆卸的清洁刷,罐体的下方设有下料口,下料口处设有能够从下料口的口部脱离的下料口开闭单元,下料口开闭单元包括用于封堵下料口的密封盖和用于固定密封盖的自动伸缩杆,自动伸缩杆固定连接到罐体上;本实用新型清洗方便。


