授权公布号:CN206755755U
一种新型烘烤房
有效
申请
2017-06-01
申请公布
1970-01-01
授权
2017-12-15
预估到期
2027-06-01
| 申请号 | CN201720629494.9 |
| 申请日 | 2017-06-01 |
| 授权公布号 | CN206755755U |
| 授权公告日 | 2017-12-15 |
| 分类号 | F26B9/02;F26B21/00;F26B21/08;F26B25/12;F26B25/00 |
| 分类 | 干燥; |
| 申请人名称 | 北京御食园食品股份有限公司 |
| 申请人地址 | 北京市怀柔区雁栖经济开发区乐园大街31号 |
专利法律状态
2017-12-15
授权
状态信息
授权
摘要
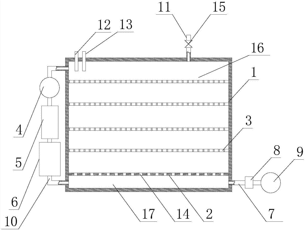
本实用新型涉及烘烤装置领域,特别涉及一种新型烘烤房。其包括房体;所述房体内设均压板,所述均压板上设有多个出气孔;所述均压板上方设有烘烤腔,下方设有均压腔;所述烘烤腔通过空气管与第一风机连通;所述第一风机通过所述空气管与除湿装置连通;所述除湿装置通过所述空气管与加热装置连通;所述加热装置通过所述空气管与所述均压腔连通;所述烘烤腔内设置多个支架。本实用新型的目的在于提供一种新型烘烤房,以解决现有烘烤房自动化水平低、能耗高的问题。


