授权公布号:CN216433959U
热固化凝胶温度检测装置
有效
申请
2021-10-03
申请公布
1970-01-01
授权
2022-05-03
预估到期
2031-10-03
| 申请号 | CN202122401022.7 |
| 申请日 | 2021-10-03 |
| 授权公布号 | CN216433959U |
| 授权公告日 | 2022-05-03 |
| 分类号 | G01N25/04 |
| 分类 | 测量;测试; |
| 申请人名称 | 湖北一致魔芋生物科技股份有限公司 |
| 申请人地址 | 湖北省宜昌市长阳土家族自治县经济开发区长阳大道438号 |
专利法律状态
2022-05-03
授权
状态信息
授权
摘要
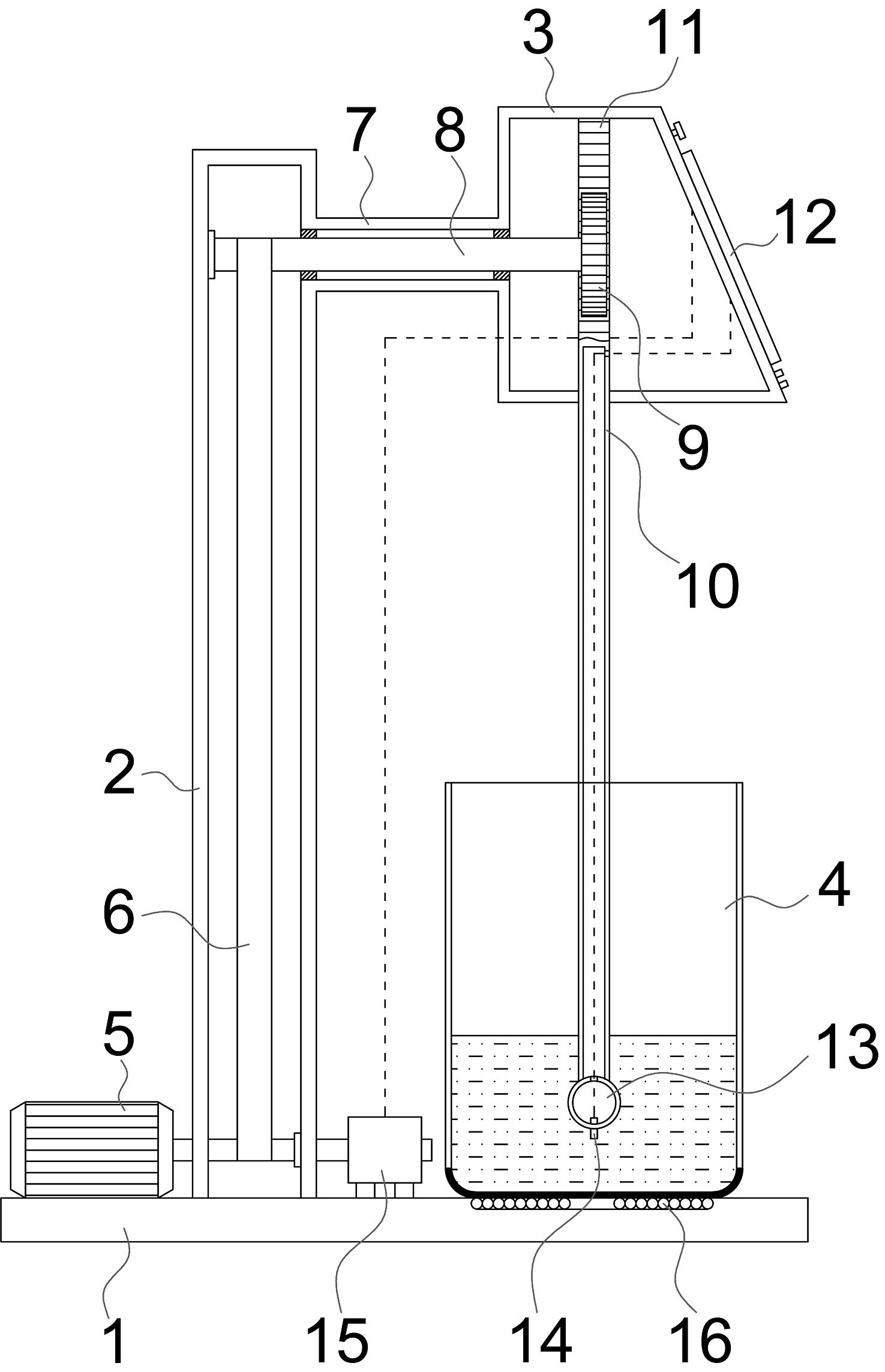
一种热固化凝胶温度检测装置,包括底座,所述的底座上设有立杆,立杆为中空结构,立杆侧壁靠近上端的位置上设有中空连杆,中空连杆一端与立杆连通,另一端上设有中空的控制机座,控制机座底部设有竖杆,竖杆下端设有空心球,空心球上设有温度探头;底座上设有量杯,量杯用于装填检测胶体,竖杆下端的空心球浸入量杯中胶体液面以下。本新型采用上述结构,可实现更加精准的热固化凝胶温度检测目的。


