授权公布号:CN217004448U
锅炉新式给煤喷管
失效
申请
2022-01-17
申请公布
1970-01-01
授权
2022-07-19
预估到期
2032-01-17
| 申请号 | CN202220109889.7 |
| 申请日 | 2022-01-17 |
| 授权公布号 | CN217004448U |
| 授权公告日 | 2022-07-19 |
| 分类号 | F23C10/22 |
| 分类 | 燃烧设备;燃烧方法; |
| 申请人名称 | 金沂蒙集团有限公司 |
| 申请人地址 | 山东省临沂市临沭县城兴大西街99号 |
专利法律状态
2024-01-26
专利权的终止
状态信息
未缴年费专利权终止;IPC(主分类):F23C 10/22;专利号:ZL2022201098897;申请日:20220117;授权公告日:20220719;终止日期:
2022-07-19
授权
状态信息
授权
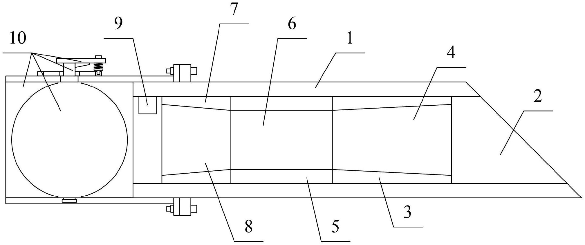
摘要
本实用新型提供锅炉新式给煤喷管,包括管体,安装腔,右圆台状结构,第一输送腔,中圆台状结构,第二输送腔,左圆台状结构,第三输送腔,流量传感器和可调节固定控制筒结构,所述的管体内部开设有安装腔;所述的右圆台状结构镶嵌在安装腔内部的右侧,且右圆台状结构内开设有第一输送腔;所述的中圆台状结构镶嵌在安装腔内部的中间部位,且中圆台状结构内开设有第二输送腔;所述的左圆台状结构镶嵌在安装腔内部的左侧,且左圆台状结构内部开设有第三输送腔。本实用新型的有益效果为:通过可调节固定控制筒结构的设置,在使用时,便于配合转盘进行安装并旋转,从而控制材料的流动速度和流量。


