授权公布号:CN211449101U
一种新型的合成氨压缩机
有效
申请
2019-11-27
申请公布
1970-01-01
授权
2020-09-08
预估到期
2029-11-27
| 申请号 | CN201922076314.0 |
| 申请日 | 2019-11-27 |
| 授权公布号 | CN211449101U |
| 授权公告日 | 2020-09-08 |
| 分类号 | F04D25/06 |
| 分类 | 液体变容式机械;液体泵或弹性流体泵; |
| 申请人名称 | 金沂蒙集团有限公司 |
| 申请人地址 | 山东省临沂市临沭县城兴大西街99号 |
专利法律状态
2020-09-08
授权
状态信息
授权
摘要
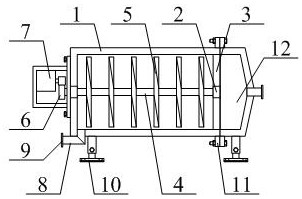
本实用新型提供一种新型的合成氨压缩机,包括压缩机外壳,滚珠轴承,纵向固定杆,传动轴,叶片,从动齿轮,便拆维护架结构,入料管,入料法兰盘,可调节支架结构,固定耳板和维护拆卸架结构,所述的滚珠轴承外圈分别嵌入在压缩机外壳的左侧中间位置以及纵向固定杆的内侧中间位置;所述的纵向固定杆螺栓安装在压缩机外壳的内壁右侧。本实用新型固定板通过连接螺栓螺纹连接在压缩机外壳的左侧,有利于在需要对电机维修时,方便对驱动电机拆卸维修;活动耳板通过螺栓螺母安装在固定耳板的右侧,有利于在维护时方便对导出框拆下,以便对压缩机外壳内部检修。


