授权公布号:CN107887082B
一种电缆加工用固定架
有效
申请
2017-11-23
申请公布
2018-04-06
授权
2019-09-13
预估到期
2037-11-23
| 申请号 | CN201711182383.9 |
| 申请日 | 2017-11-23 |
| 申请公布号 | CN107887082A |
| 申请公布日 | 2018-04-06 |
| 授权公布号 | CN107887082B |
| 授权公告日 | 2019-09-13 |
| 分类号 | H01B13/00 |
| 分类 | 基本电气元件; |
| 申请人名称 | 金沂蒙集团有限公司 |
| 申请人地址 | 山东省临沂市临沭县城兴大西街99号 |
专利法律状态
2021-01-01
专利申请权、专利权的转移
状态信息
专利权的转移;IPC(主分类):H01B 13/00;专利号:ZL2017111823839;登记生效日:20201222;变更事项:专利权人;变更前权利人:温州续影贸易有限公司;变更后权利人:金沂蒙集团有限公司;变更事项:地址;变更前权利人:325005 浙江省温州市瓯海区梧田街道站南商贸城F幢705室(托管-304);变更后权利人:276700 山东省临沂市临沭县城兴大西街99号
2019-09-13
发明专利权授予
状态信息
授权
2019-09-06
专利申请权、专利权的转移
状态信息
专利申请权的转移;IPC(主分类):H01B 13/00;专利申请号:2017111823839;登记生效日:20190820;变更事项:申请人;变更前权利人:张巧芳;变更后权利人:温州续影贸易有限公司;变更事项:地址;变更前权利人:710100 陕西省西安市长安区西京路1号;变更后权利人:325005 浙江省温州市瓯海区梧田街道站南商贸城F幢705室(托管-304)
2018-05-01
实质审查的生效
状态信息
实质审查的生效;IPC(主分类):H01B 13/00;专利申请号:2017111823839;申请日:20171123
2018-04-06
发明专利申请公布
状态信息
公布
摘要
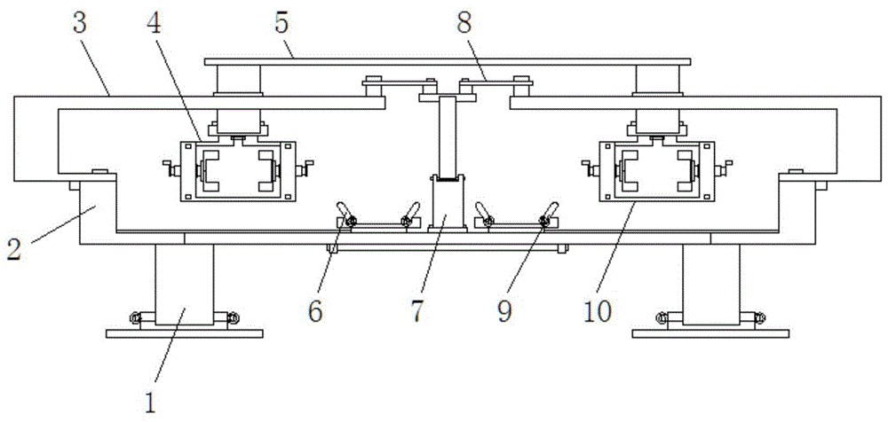
本发明涉及一种电缆加工用固定架,包括支撑杆、第一限位架和防护板,所述支撑杆的顶端安装有固定底座,且固定底座的顶端固定有固定架,所述第一限位架镶嵌于固定架的内部左侧,所述防护板设置于固定架的上方,所述固定底座的内侧底端设置有第一固定槽,且固定底座的中部固定有固定杆,所述固定杆的顶端两侧镶嵌有防抖动架,所述固定底座的内侧右端固定有第二固定槽,且第二固定槽的右上方安装有第二限位架,所述固定底座的内侧两端安装有活动杆,且固定底座的外表面开设有放置槽。本发明的有益效果是:该通过第一限位架和第二限位架能够多根电缆进行固定,摒弃传统固定架只能对单根电缆进行固定的缺陷,适用于不同情况下的使用需求。


