授权公布号:CN217216135U
一种电机转子及其电机
有效
申请
2022-04-11
申请公布
1970-01-01
授权
2022-08-16
预估到期
2032-04-11
| 申请号 | CN202220826077.4 |
| 申请日 | 2022-04-11 |
| 授权公布号 | CN217216135U |
| 授权公告日 | 2022-08-16 |
| 分类号 | H02K1/2733;H02K1/28 |
| 分类 | 发电、变电或配电; |
| 申请人名称 | 佛山市顺德区恒兴微电机有限公司 |
| 申请人地址 | 广东省佛山市顺德区北滘镇顺江居委会工业园环镇东路南12号 |
专利法律状态
2022-08-16
授权
状态信息
授权
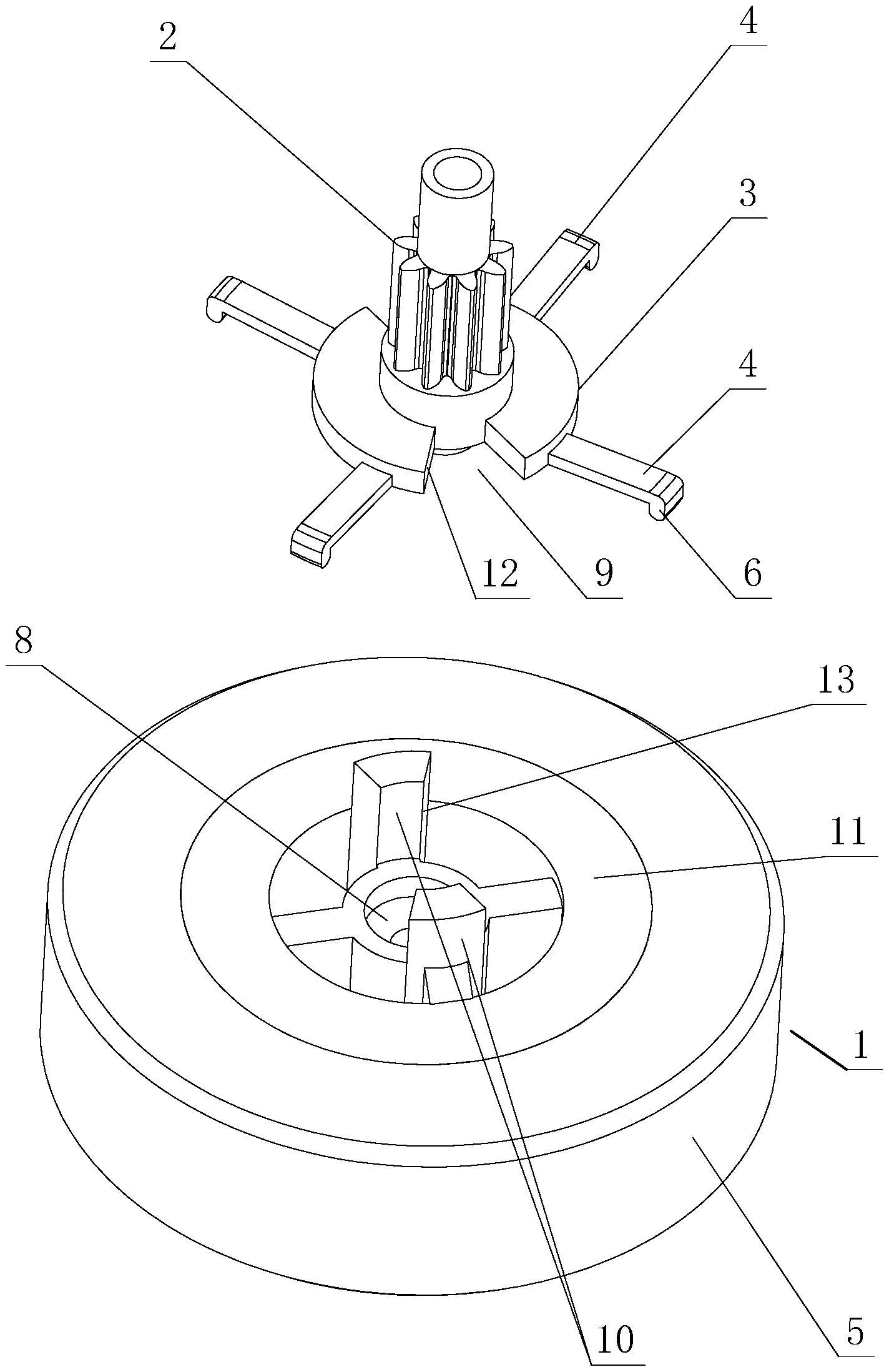
摘要
一种电机转子及其电机,转子包括磁环、齿头,磁环、齿头之间设有防止打转的扣接配合结构,齿头包括限位环,限位环设有多个在外力作用下与磁环顶部形成部分弹性接触的弹性支臂,替代传统加弹簧加垫片工艺压设转子的;提高产效,降低生产成本。本实用新型的电机面盖与电机机壳之间通过紧固铆合,面盖铆紧在电机机壳,面盖朝磁环往下压住齿头,齿头下压,限位环上每个弹性支臂产生轻微弹性变形,形成一定弹力使弹性支臂一端的压脚与磁环顶部形成弹性接触,避免转子运动时产生窜动,造成转子齿头敲打面盖而产生异音现象,有效确保电机运转更平稳、更静音,替代传统电机用弹簧加垫片压转子工艺,避免装弹簧时出现多放或漏放弹簧或垫片现象。


