授权公布号:CN211828430U
一种线包组合连接引线结构
有效
申请
2020-06-03
申请公布
1970-01-01
授权
2020-10-30
预估到期
2030-06-03
| 申请号 | CN202020997194.8 |
| 申请日 | 2020-06-03 |
| 授权公布号 | CN211828430U |
| 授权公告日 | 2020-10-30 |
| 分类号 | H01F27/29 |
| 分类 | 基本电气元件; |
| 申请人名称 | 佛山市顺德区恒兴微电机有限公司 |
| 申请人地址 | 广东省佛山市顺德区北滘镇顺江居委会工业园环镇东路南12号 |
专利法律状态
2020-10-30
授权
状态信息
授权
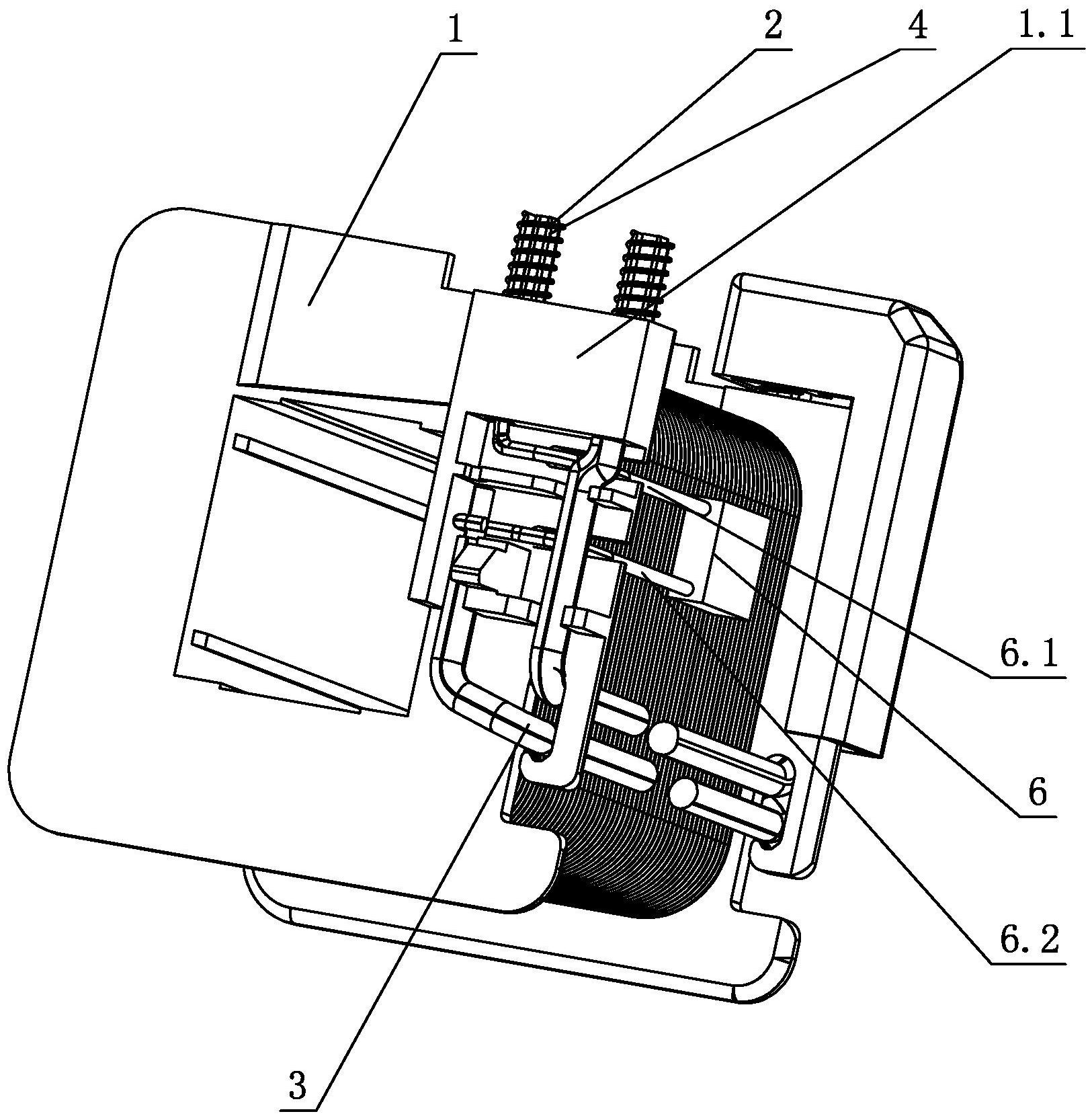
摘要
一种线包组合连接引线结构,包括线架,线架上设有两个以上的挽线部件,线架上还设有用于包覆挽线部件的安全盖;线架外侧对应挽线部件设有凸台,凸台内设有凹槽,挽线部件部分插入凹槽内;凹槽的前端内壁呈倾斜设置;线架在凸台下方设有两个间隔设置的凸块,两个凸块之间形成用于夹设引线的卡槽。本实用新型的线架上设有用于缠绕漆包线线头或线尾,以及插入引线前端剥皮线芯部分的挽线部件,机器将线包绕好后将漆包线线头或线尾沿挽线部件进行挽线,然后将引线前端剥皮,线芯插入挽线部件内,最后浸锡,取消人手挽线,提高产品生产效率,使产品更安全可靠;线架上还设有用于包覆挽线部件的安全盖,挽线部件不用外露,起到绝缘保护作用。


