授权公布号:CN213243676U
一种爪极式同步电机定子与引线连接结构
有效
申请
2020-08-04
申请公布
1970-01-01
授权
2021-05-18
预估到期
2030-08-04
| 申请号 | CN202021602630.3 |
| 申请日 | 2020-08-04 |
| 授权公布号 | CN213243676U |
| 授权公告日 | 2021-05-18 |
| 分类号 | H02K3/50 |
| 分类 | 发电、变电或配电; |
| 申请人名称 | 佛山市顺德区恒兴微电机有限公司 |
| 申请人地址 | 广东省佛山市顺德区北滘镇顺江居委会工业园环镇东路南12号 |
专利法律状态
2021-05-18
授权
状态信息
授权
摘要
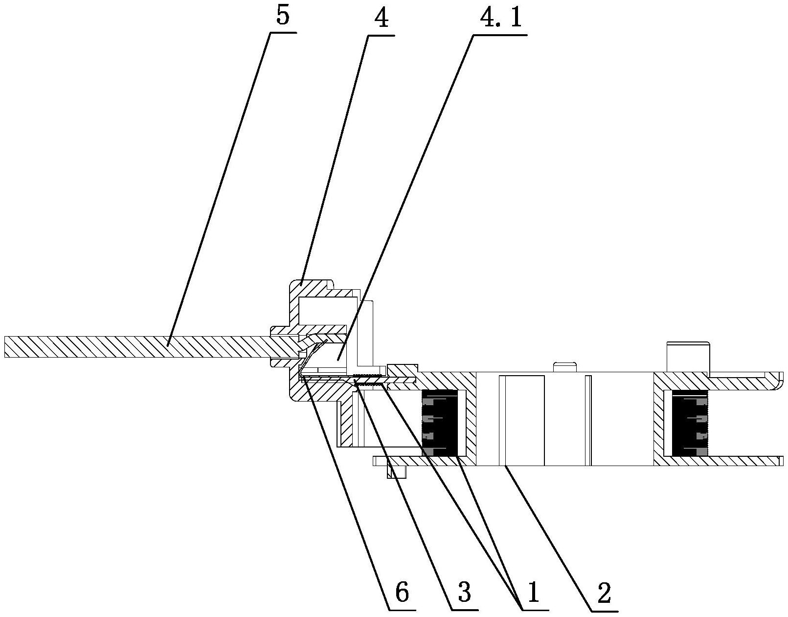
一种爪极式同步电机定子与引线连接结构,包括缠绕漆包线的定子骨架,定子骨架一侧设有插针,定子骨架设有护罩,护罩内设有容纳插针、引线剥皮部分线芯的容置槽,容置槽内设有导电弹片,导电弹片包括第一弯折片和第二弯折片,引线剥皮部分线芯插入带有导电弹片和插针的容置槽内,引线剥皮部分线芯插入挤压导电弹片,导电弹片经压缩后弹回,第二弯折片在容置槽内卡紧插针,往容置槽外拉动引线,第一弯折片与引线剥皮部分线芯摩擦接触,且第一弯折片和第二弯折片之间的夹角变大,以在拉动引线下第一弯折片始终卡紧容置槽内的引线剥皮部分线芯。本实用新型通过在护罩内设有导电弹片,有效确保引线和电机拉力,以及导电良好,且护罩确保导电体不外露。


