授权公布号:CN218222116U
腌制品加工拌料装置
有效
申请
2022-07-15
申请公布
1970-01-01
授权
2023-01-06
预估到期
2032-07-15
| 申请号 | CN202221822191.6 |
| 申请日 | 2022-07-15 |
| 授权公布号 | CN218222116U |
| 授权公告日 | 2023-01-06 |
| 分类号 | B01F29/60;B01F35/12;B01F35/45;A23L19/20;A23P30/00;B01F101/06N |
| 分类 | 一般的物理或化学的方法或装置; |
| 申请人名称 | 湖北大派食品集团有限公司 |
| 申请人地址 | 湖北省恩施土家族苗族自治州宣恩县珠山镇莲花坝村一组 |
专利法律状态
2023-01-06
授权
状态信息
授权
摘要
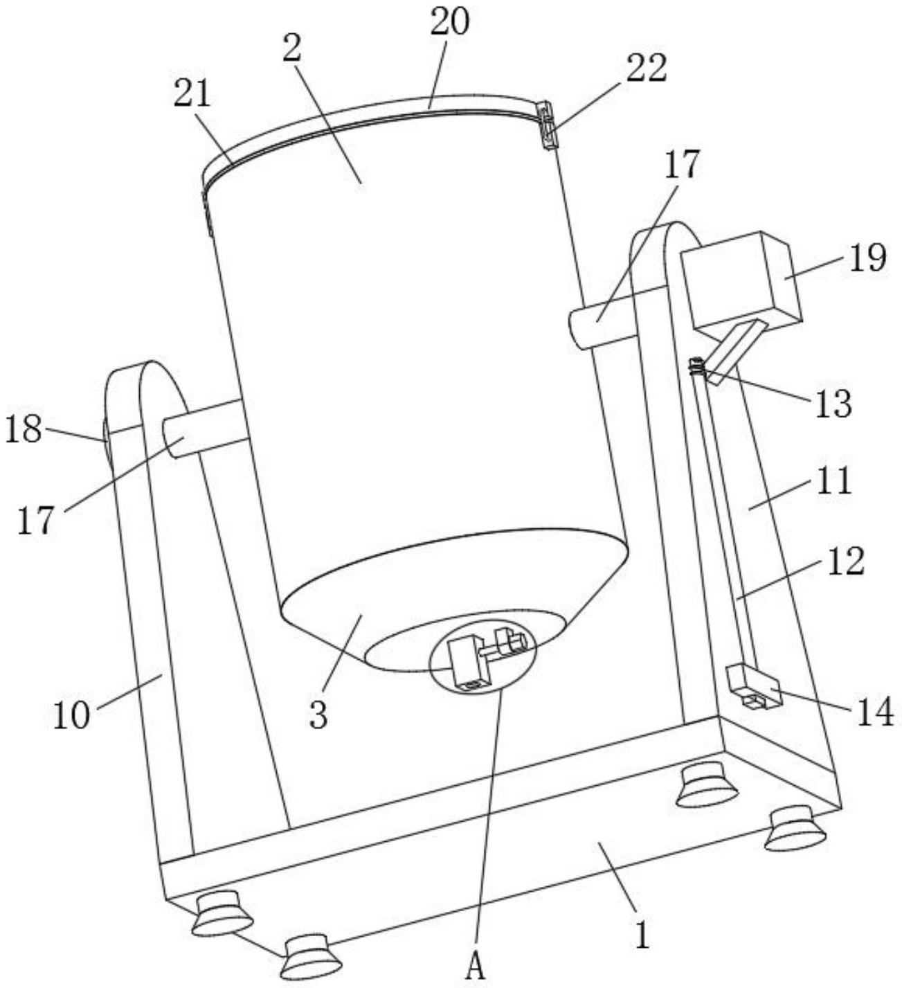
本申请属于腌制品加工技术领域,公开了腌制品加工拌料装置,包括底座,底座的正上方设有料筒,料筒的底部固定连接有联结斗,料筒底端的内侧设有内置盘,内置盘的外壁固定安装有侧圈,侧圈顶端的外壁与料筒的内壁相接触,内置盘底部的中心固定连接有连接柱,连接柱贯穿联结斗的底端并与联结斗底端的中心活动套接,且连接柱位于底座的上方,连接柱底端的内腔开设有内螺纹孔,且连接柱的一侧边设有固定块,固定块固定安装于联结斗的底部。通过设置的料筒与联结斗,能够对酱菜腌制品以及佐料进行有效集装的同时,利用盖板、密封圈以及锁扣的封堵作用下,并配合电机、转杆的带动旋转作用,得以实现物料的有效拌料效果。


