授权公布号:CN201862413U
小型高温反应釜
失效
申请
2010-11-30
申请公布
1970-01-01
授权
2011-06-15
预估到期
2020-11-30
| 申请号 | CN201020634020.1 |
| 申请日 | 2010-11-30 |
| 授权公布号 | CN201862413U |
| 授权公告日 | 2011-06-15 |
| 分类号 | B01J19/18;B01J4/00 |
| 分类 | 一般的物理或化学的方法或装置; |
| 申请人名称 | 吉林派诺生物技术股份有限公司 |
| 申请人地址 | 吉林省长春市高新区硅谷大街3355号 |
专利法律状态
2020-12-18
专利权的终止
状态信息
专利权有效期届满;IPC(主分类):B01J19/18;申请日:20101130;授权公告日:20110615
2013-09-11
专利权人的姓名或者名称、地址的变更
状态信息
专利权人的姓名或者名称、地址的变更;IPC(主分类):B01J19/18;变更事项:专利权人;变更前:吉林派诺生物技术有限公司;变更后:吉林派诺生物技术股份有限公司;变更事项:地址;变更前:130012 吉林省长春市前进大街3003号;变更后:130012 吉林省长春市高新区硅谷大街3355号
2011-06-15
授权
状态信息
授权
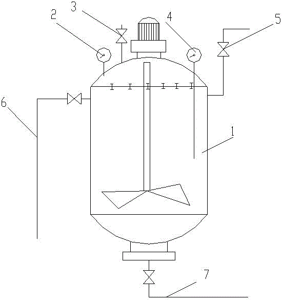
摘要
本实用新型涉及一种小型高温反应釜,属于反应釜。双层反应釜体的顶部连接压力表和温度表,阀门与反应釜体的顶部固定连接,进油管与双层反应釜体固定连接,排气阀与双层反应釜体上部固定连接,回油管与双层反应釜体底部固定连接。优点是结构新颖,能更好的适应以油作为加热介质,可以方便、灵活的控制反应温度,反应釜内各个部分温度的均匀、一致性好;且属于常压工作,安全风险也大大降低。


