授权公布号:CN216722979U
一种夹心枣糖液喷淋装置
有效
申请
2021-09-29
申请公布
1970-01-01
授权
2022-06-14
预估到期
2031-09-29
| 申请号 | CN202122378084.0 |
| 申请日 | 2021-09-29 |
| 授权公布号 | CN216722979U |
| 授权公告日 | 2022-06-14 |
| 分类号 | A23G3/20 |
| 分类 | 其他类不包含的食品或食料;及其处理; |
| 申请人名称 | 山东百枣纲目生物科技有限公司 |
| 申请人地址 | 山东省德州市乐陵市碧霞大街6号 |
专利法律状态
2022-06-14
授权
状态信息
授权
摘要
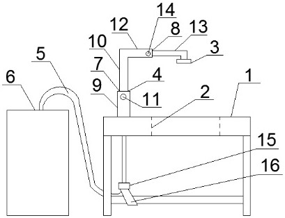
本实用新型涉及一种红枣加工设备,特别涉及一种夹心枣糖液喷淋装置。该夹心枣糖液喷淋装置,包括工作台,其特征是:所述工作台上开设有喷淋盛放孔,喷淋盛放孔上方设有喷淋盘,喷淋盘安装于旋转管上,喷淋盘连接糖液软管,糖液软管与糖液压力罐相连接。本实用新型的有益效果是:可对盆里的夹心枣进行糖液的自动喷淋,喷淋均匀,且不会污染糖液;适用于大小不同的盛枣盆,操作方便,节约成本,保证了夹心枣的外观和成色。


