授权公布号:CN207577190U
一种刀柄半自动成形冲压装置
有效
申请
2017-11-03
申请公布
1970-01-01
授权
2018-07-06
预估到期
2027-11-03
| 申请号 | CN201721450685.5 |
| 申请日 | 2017-11-03 |
| 授权公布号 | CN207577190U |
| 授权公告日 | 2018-07-06 |
| 分类号 | B21D22/02;B21D43/13 |
| 分类 | 基本上无切削的金属机械加工;金属冲压; |
| 申请人名称 | 阳江市巧媳妇厨业有限公司 |
| 申请人地址 | 广东省阳江市阳东区那霍工业区325国道北边 |
专利法律状态
2018-07-06
授权
状态信息
授权
摘要
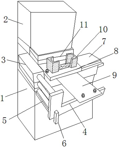
本实用新型公开了一种刀柄半自动成形冲压装置,包括基座、冲床和气缸,所述冲床和气缸位于基座顶部一侧设置,所述气缸输出端安装有输送支架,所述输送支架通过两组对称设置的内六角螺栓与输送片的一端固定连接,所述基座顶部位于气缸一侧设有支撑板,所述支撑板顶部通过内六角螺栓与固定板固定连接,所述输送片在支撑板和固定板之间的凹槽内滑动连接,所述固定板顶部设有模具斗,所述模具斗之间位于固定板上开设有凹槽,所述冲床底部包括上模具和下模具,所述冲床背面底部一侧设有集料槽,本实用新型实现自动送料、冲压,减少人工操作,效率高。具有很高的实用性,保证其使用效果和使用效益,适合广泛推广。


