授权公布号:CN209271874U
一种枸杞子分级筛选装置
有效
申请
2018-10-18
申请公布
1970-01-01
授权
2019-08-20
预估到期
2028-10-18
| 申请号 | CN201821691644.X |
| 申请日 | 2018-10-18 |
| 授权公布号 | CN209271874U |
| 授权公告日 | 2019-08-20 |
| 分类号 | B07B1/28 |
| 分类 | 将固体从固体中分离;分选; |
| 申请人名称 | 宁夏沃福百瑞枸杞产业股份有限公司 |
| 申请人地址 | 宁夏回族自治区银川市金凤区五里台路68号 |
专利法律状态
2019-08-20
授权
状态信息
授权
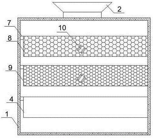
摘要
本实用新型是涉及枸杞子生产制造的技术领域,具体是涉及一种枸杞子分级筛选装置,箱体左右两端侧壁的下端分别开设有位置对应的限位槽一,限位槽一内放置有接料框;箱体左右两端侧壁的上端分别开设有两个竖向排列的限位槽二;限位槽二的前后两端分别固定连接有弹簧,限位槽二内的两个弹簧上固定连接有半圆形固定板;转轴的两端固定在固定板上,转轴上转动连接有半圆形挡板;筛网一的两端分别与箱体上端的两个固定板固定连接,筛网二的两端分别与箱体下端的两个固定板固定连接;筛网二与筛网一上都固定连接有震动器,本实用新型具有使用方便、提高筛分效率、制作成本低等优点。


