授权公布号:CN208625608U
一种新型除尘拖把
有效
申请
2018-01-31
申请公布
1970-01-01
授权
2019-03-22
预估到期
2028-01-31
| 申请号 | CN201820167313.X |
| 申请日 | 2018-01-31 |
| 授权公布号 | CN208625608U |
| 授权公告日 | 2019-03-22 |
| 分类号 | A47L13/254;A47L13/46 |
| 分类 | 家具;家庭用的物品或设备;咖啡磨;香料磨;一般吸尘器; |
| 申请人名称 | 惠州强雳日常用品制造有限公司 |
| 申请人地址 | 广东省惠州市博罗县长宁镇岭排工业区强雳日常用品制造有限公司 |
专利法律状态
2019-03-22
授权
状态信息
授权
摘要
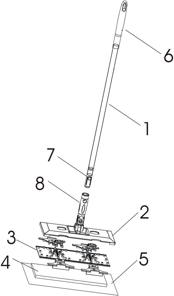
本实用新型公开了一种新型除尘拖把,包括把杆和把头,把头包括面盖板、底板、EVA垫板和除尘纸,把杆通过万向连接结构连接把头的中部,底板上表面设置有夹纸装置以及上表面边缘处设置有多组卡柱,并且通过卡柱连接在面盖板的下表面,EVA垫板粘接在底板的底面,除尘纸紧贴EVA垫板的下表面并通过夹纸装置夹持在把头上,面盖板上位于万向连接结构两侧设置有与夹纸装置对应的通孔。该种新型除尘拖把通过设置两级夹紧力度,对于不同厚度的除尘纸和抹布具有兼容性,使用方便,更换除尘纸和抹布用手捏紧两侧的纸夹,夹住除尘纸或抹布后进行拖地,按下按扣,纸夹弹开,操作十分方便便捷,无需拆卸把头,省时省力。


