授权公布号:CN216792695U
一种具有内部贴片开关保护功能的手表
有效
申请
2021-11-26
申请公布
1970-01-01
授权
2022-06-21
预估到期
2031-11-26
| 申请号 | CN202122942079.8 |
| 申请日 | 2021-11-26 |
| 授权公布号 | CN216792695U |
| 授权公告日 | 2022-06-21 |
| 分类号 | G04B27/00;G04G21/08;H01H13/14 |
| 分类 | 测时学; |
| 申请人名称 | 福建宜准信息科技有限公司 |
| 申请人地址 | 福建省福州市仓山区盖山镇盘屿路869号金山工业集中区福湾园27#厂房二、三层 |
专利法律状态
2022-06-21
授权
状态信息
授权
摘要
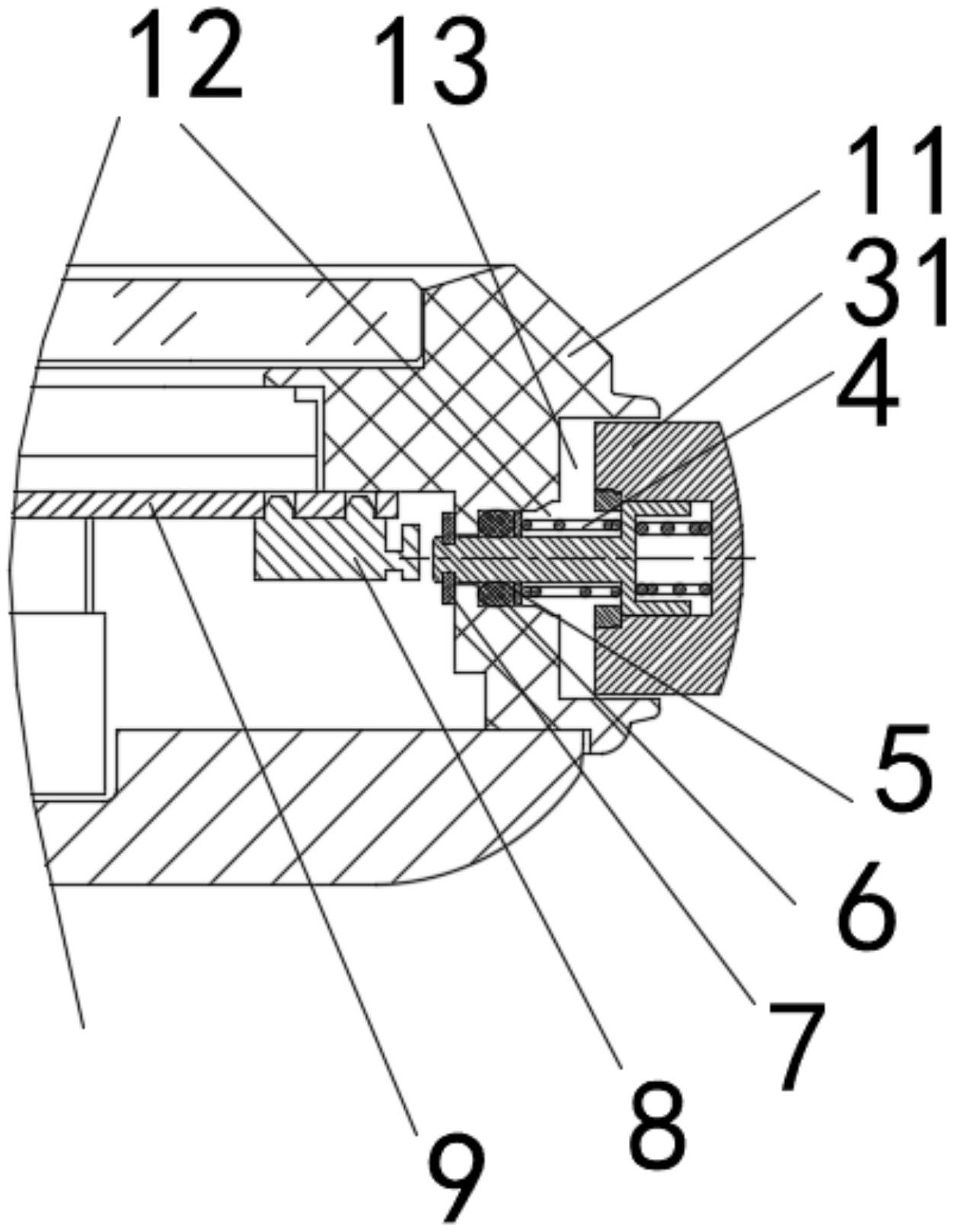
本实用新型公开了一种具有内部贴片开关保护功能的手表,包括手表本体及内部设置的机芯;所述机芯上设有若干贴片开关;所述手表本体上设有与贴片开关相配合的弹性按键;所述弹性按键的按键杆上从左到右套设有防水圈、挡圈、弹簧;所述弹性按键包括与按键杆活动连接的键帽。本实用新型通过将弹性按键设置成双层弹簧按压结构,可以有效对冲击力进行抵消和减弱,配合壳体上的限位结构有效的控制对贴片开关的压力,避免跌落、撞击等意外带来的冲击直接作用于贴片开关。


