授权公布号:CN208438368U
输送带用硫化机裁边装置
有效
申请
2018-07-16
申请公布
1970-01-01
授权
2019-01-29
预估到期
2028-07-16
| 申请号 | CN201821116432.9 |
| 申请日 | 2018-07-16 |
| 授权公布号 | CN208438368U |
| 授权公告日 | 2019-01-29 |
| 分类号 | B26D1/03;B26D7/26;B26D7/10 |
| 分类 | 手动切割工具;切割;切断; |
| 申请人名称 | 山东祥通橡塑集团有限公司 |
| 申请人地址 | 山东省济宁市高新区凯旋路1号山东祥通橡塑集团有限公司 |
专利法律状态
2020-12-04
专利权的保全及其解除
状态信息
专利权的保全及其解除
2019-01-29
授权
状态信息
授权
摘要
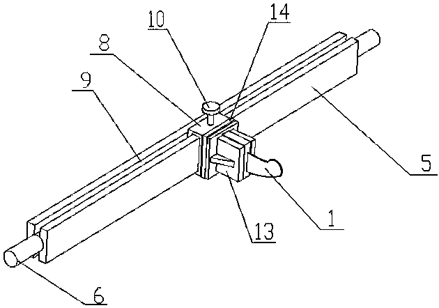
一种输送带用硫化机裁边装置,包括设置在硫化机的出料口处的带体支撑架和切刀架,切刀架上安装有切刀,带体支撑架的上端面位于左、右两矩形框架上各设置有两个滑动轴承,相对设置的两滑动轴承之间支撑设置有传动辊,矩形框架的内侧靠上方向设置有定位安装板,两定位安装板之间设有导向板,导向板的两端连有辊轴,辊轴伸出定位安装板的一端连接旋转驱动结构,导向板的两端各设置一切刀架,切刀架安装有切刀,基板的背面固定设置可沿导向板移动的滑动架,滑动架上设置与导向板相固定的顶紧螺栓,导向板位于两传动辊之间,本实用新型裁切效率高、阻力小、裁切统一性好,边部无裂口。


