授权公布号:CN208323975U
一种浸覆浆搅拌装置
有效
申请
2018-06-25
申请公布
1970-01-01
授权
2019-01-04
预估到期
2028-06-25
| 申请号 | CN201820979784.0 |
| 申请日 | 2018-06-25 |
| 授权公布号 | CN208323975U |
| 授权公告日 | 2019-01-04 |
| 分类号 | B29C41/34;B29C41/20 |
| 分类 | 塑料的加工;一般处于塑性状态物质的加工; |
| 申请人名称 | 山东祥通橡塑集团有限公司 |
| 申请人地址 | 山东省济宁市高新区凯旋路1号 |
专利法律状态
2020-12-08
专利权的保全及其解除
状态信息
专利权的保全及其解除
2019-01-04
授权
状态信息
授权
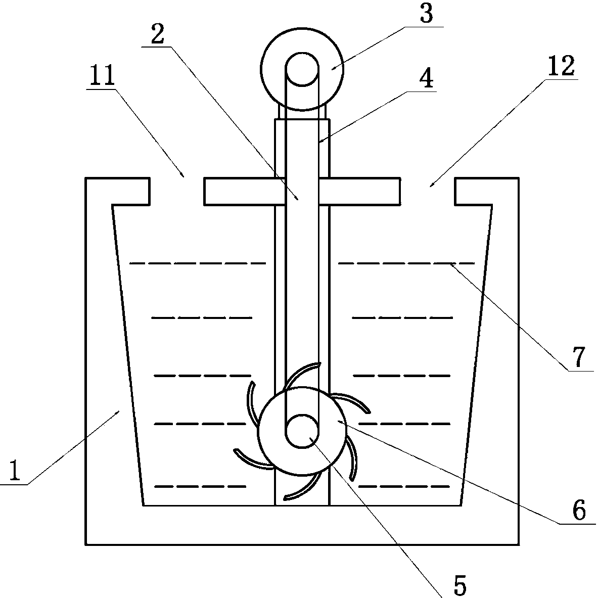
摘要
一种浸覆浆搅拌装置,包括浸覆浆槽、固定架、调速电机、传动链条、带芯调节导辊和搅拌器,其特征是所述的固定架包括主架和侧架,主架通过焊接的方式与浸覆浆槽的底部相连接,侧架与浸覆浆槽形成带芯入口和带芯出口,所述的调速电机设置在固定架的上部,所述的带芯调节导辊设置在固定架的下部,所述的搅拌器设置在带芯调节导辊的端部,搅拌器通过传动链条与调速电机相连接;浸覆浆粘度基本保持一致,成分更加均匀,浸浆效果更好。


