授权公布号:CN213232299U
一种火腿加工发酵装置
有效
申请
2020-09-05
申请公布
1970-01-01
授权
2021-05-18
预估到期
2030-09-05
| 申请号 | CN202021922840.0 |
| 申请日 | 2020-09-05 |
| 授权公布号 | CN213232299U |
| 授权公告日 | 2021-05-18 |
| 分类号 | C12M1/38;C12M1/12;C12M1/00;A23L13/00 |
| 分类 | 生物化学;啤酒;烈性酒;果汁酒;醋;微生物学;酶学;突变或遗传工程; |
| 申请人名称 | 浙江大江南食品有限公司 |
| 申请人地址 | 浙江省金华市义乌市东河经济开发区 |
专利法律状态
2021-05-18
授权
状态信息
授权
摘要
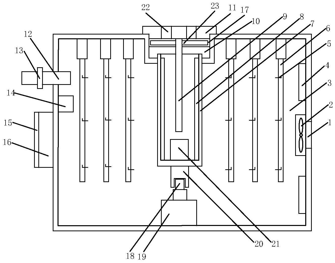
本实用新型公开了一种火腿加工发酵装置,旨在解决现有的火腿发酵过程中不能对内部的空气进行净化,容易影响微生物和酶的生长繁殖,导致火腿发酵不完全的问题。其技术方案要点是:发酵箱内转动连接有过滤筒,过滤筒内固定连接有过滤网,发酵箱的顶部可拆卸连接有箱盖,箱盖上开设有圆槽,圆槽内转动连接有密封盖,圆槽内螺纹连接有连接盖,连接盖上开设有进风孔,连接盖靠近箱体的一端固定连接有转动杆,转动杆与过滤筒转动连接,过滤筒内设置有空气处理器。本实用新型通过过滤筒内部设置的空气处理器进行进一步的空气处理使得进入至发酵箱内的空气得到净化,避免空气中的其他物质跟随空气一起进入至发酵箱内影响火腿发酵。


