授权公布号:CN217001124U
一种伸缩式升降引导杆
有效
申请
2022-03-29
申请公布
1970-01-01
授权
2022-07-19
预估到期
2032-03-29
| 申请号 | CN202220701745.0 |
| 申请日 | 2022-03-29 |
| 授权公布号 | CN217001124U |
| 授权公告日 | 2022-07-19 |
| 分类号 | E04H6/42 |
| 分类 | 建筑物; |
| 申请人名称 | 山东莱钢泰达车库有限公司 |
| 申请人地址 | 山东省济南市钢城区泰达工业园 |
专利法律状态
2022-07-19
授权
状态信息
授权
摘要
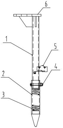
本实用新型涉及一种伸缩式升降引导杆,包括上部固定杆以及竖向滑接在上部固定杆下方的下部活动杆,所述上部固定杆和下部活动杆之间装有将下部活动杆向下推动的弹性下压机构,还包括与上部固定杆固接且位于下部活动杆上升路径上的检测开关,所述下部活动杆包括套在上部固定杆下端的套管以及固接在套管下端的锥形块,所述锥形块的下端为锥形,本实用新型通过设置可伸缩式升降引导杆,可以避免车板上升时因引导杆没有顺利进入边梁上的定位孔而强行顶坏边梁,而且该装置设置了微动开关,当出现意外时可及时让设备停止运行,大大提升了车库设备的安全性。


