授权公布号:CN2565902Y
交叉联动简易升降立体停车设备
有效
申请
2002-07-29
申请公布
1970-01-01
授权
2003-08-13
预估到期
2012-07-29
| 申请号 | CN02268531.6 |
| 申请日 | 2002-07-29 |
| 授权公布号 | CN2565902Y |
| 授权公告日 | 2003-08-13 |
| 分类号 | E04H6/18 |
| 分类 | 建筑物; |
| 申请人名称 | 山东莱钢泰达车库有限公司 |
| 申请人地址 | 山东省济南市黑虎泉北路5号4楼 |
专利法律状态
2021-11-19
授权
状态信息
授权
2012-09-05
专利权的终止
状态信息
专利权有效期届满;IPC(主分类):E04H6/18;申请日:20020729;授权公告日:20030813期满;终止日期:20120729
2003-08-13
实用新型专利权授予
状态信息
授权
摘要
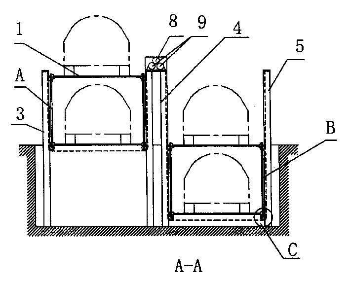
本实用新型提供一种交叉联动简易升降立体停车设备,其结构是由车库框架、载车架A、B和载车架驱动机构,车库框架分别设置有左右两个车库,载车架A、B分别设置在车库框架的左右车库之中,载车架A、B通过载车架驱动机构连接在一起驱动载车架A、B分别在车库框架的左右车库之中交叉联动升降。本实用新型的交叉联动简易升降立体停车设备和现有技术相比,具有设计合理、结构简单、易于加工、造价低廉、占地空间小、使用方便、适应性强、节能效果突出、一机二用等特点,因而,具有很好的推广使用价值。


