授权公布号:CN212139113U
一种面团压薄冷冻输送装置
有效
申请
2020-04-21
申请公布
1970-01-01
授权
2020-12-15
预估到期
2030-04-21
| 申请号 | CN202020602560.5 |
| 申请日 | 2020-04-21 |
| 授权公布号 | CN212139113U |
| 授权公告日 | 2020-12-15 |
| 分类号 | A21C9/00 |
| 分类 | 焙烤;制作或处理面团的设备;焙烤用面团〔1,8〕; |
| 申请人名称 | 福建爱乡亲食品股份有限公司 |
| 申请人地址 | 福建省泉州市晋江市经济开发区金山路31号2幢 |
专利法律状态
2020-12-15
授权
状态信息
授权
摘要
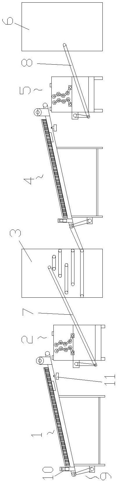
本实用新型涉及一种面团压薄冷冻输送装置,包括沿面团输送方向依次设置的第一防粘输送机、第一压薄机、冷冻箱、第二防粘输送机、第二压薄机和成型机,所述第一防粘输送机的输出端位于第一压薄机输入端的正上方,所述第一压薄机的输出端与冷冻箱的输入端之间设置有第一皮带式输送机,所述冷冻箱的输出端与第二防粘输送机的输入端相连接,所述第二防粘输送机的输出端位于第二压薄机输入端的正上方,所述第二压薄机的输出端和成型机的输入端之间设置有第二皮带式输送机。该面团压薄冷冻输送装置避免面团粘结在输送皮带上,压薄面团均匀,从而提高面包的生产效率,提升面包的品质。


