授权公布号:CN219052145U
一种X光异物检测机
有效
申请
2022-12-27
申请公布
1970-01-01
授权
2023-05-23
预估到期
2032-12-27
| 申请号 | CN202223487904.0 |
| 申请日 | 2022-12-27 |
| 授权公布号 | CN219052145U |
| 授权公告日 | 2023-05-23 |
| 分类号 | B07C5/34;B07C5/02;B07C5/36 |
| 分类 | 将固体从固体中分离;分选; |
| 申请人名称 | 福建爱乡亲食品股份有限公司 |
| 申请人地址 | 福建省泉州市晋江市经济开发区金山路31号2幢 |
专利法律状态
2023-05-23
授权
状态信息
授权
摘要
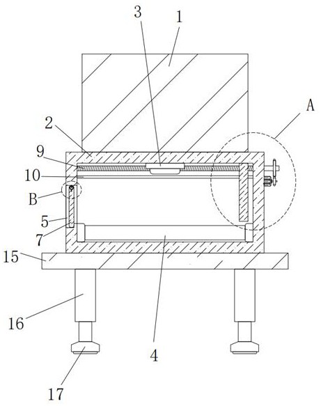
本实用新型提供一种X光异物检测机。所述X光异物检测机包括检测机本体;检测箱,所述检测箱固定安装在所述检测机本体的底部;检测探头,所述检测探头设置在所述检测箱的顶部内壁上,所述检测探头与所述检测机本体电性连接;传送带,所述传送带设置在所述检测箱的底部内壁上;推出开口,所述推出开口开设在所述检测箱上;遮挡机构,所述遮挡机构设置在所述推出开口上;推出机构,所述推出机构设置在所述检测箱的内壁上;动力机构,所述动力机构设置在所述检测箱的一侧。本实用新型提供的X光异物检测机具有自动挑拣功能、较为省时省力、工作效率较高的优点。


