授权公布号:CN212204262U
一种方便调节角度的吊灯
有效
申请
2020-06-30
申请公布
1970-01-01
授权
2020-12-22
预估到期
2030-06-30
| 申请号 | CN202021239395.8 |
| 申请日 | 2020-06-30 |
| 授权公布号 | CN212204262U |
| 授权公告日 | 2020-12-22 |
| 分类号 | F21S8/06 |
| 分类 | 照明; |
| 申请人名称 | 江门市中意灯饰水晶有限公司 |
| 申请人地址 | 广东省江门市江海区南山路312号 |
专利法律状态
2020-12-22
授权
状态信息
授权
摘要
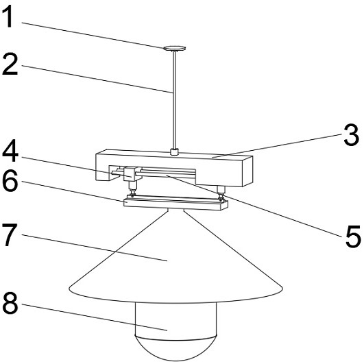
本实用新型涉及灯具技术领域,具体为一种方便调节角度的吊灯,包括安装底盘和安装底盘下方的吊杆,安装底盘底部与吊杆的一端固定连接,吊杆的另一端与调节底座固定连接,调节底座底部开设有滑槽,滑槽内安装有滑杆,滑杆上滑动安装有滑座,调节底座下方设有连接块,调节底座和连接块通过两个伸缩装置连接,本实用新型由于需要改变照明角度时,通过调节伸缩杆长度,即可实现照射角度的调节,从而使得灯具的使用较为方便。


