授权公布号:CN211732037U
一种安全套生产包装设备
有效
申请
2019-12-30
申请公布
1970-01-01
授权
2020-10-23
预估到期
2029-12-30
| 申请号 | CN201922453516.2 |
| 申请日 | 2019-12-30 |
| 授权公布号 | CN211732037U |
| 授权公告日 | 2020-10-23 |
| 分类号 | B65B59/00 |
| 分类 | 输送;包装;贮存;搬运薄的或细丝状材料; |
| 申请人名称 | 大连乳胶有限责任公司 |
| 申请人地址 | 辽宁省大连市普兰店区海星路18号 |
专利法律状态
2020-10-23
授权
状态信息
授权
摘要
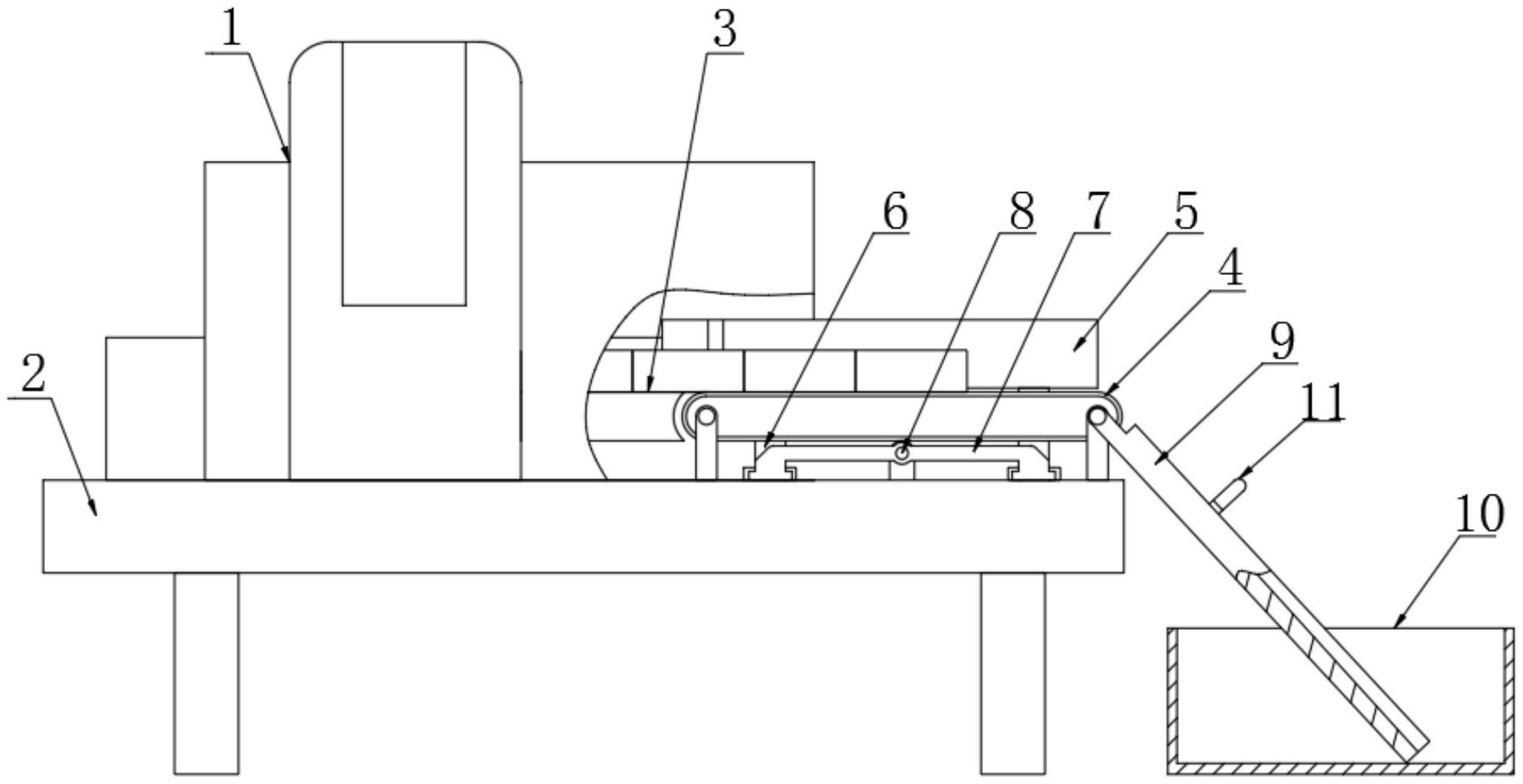
本实用新型公开了一种安全套生产包装设备,包括包装机本体,所述包装机本体的底部设置有机架,所述包装机本体的一侧设置有出盒口,所述出盒口的一侧设置有出料传送带,所述出料传送带固定安装于机架一端的顶部,所述出料传送带的顶部设置有两个导板,两个所述导板相远离的一侧均固定连接有桥板,所述桥板的底部延伸至出料传送带的底部,且所述桥板的底部与机架的顶部滑动连接,两组所述U型架底部相靠近的一端均固定连接有桥板。本实用新型通过转动旋螺纹杆,利用螺纹杆与两个桥板螺纹连接,带动两个桥板以及导板相互移动,进而可以调整两个导板之间的距离,以适应不同大小的包装盒,提高了装置使用的实用性。


