授权公布号:CN207634628U
一种收获机皮带张紧装置
有效
申请
2017-12-11
申请公布
1970-01-01
授权
2018-07-20
预估到期
2027-12-11
| 申请号 | CN201721718396.9 |
| 申请日 | 2017-12-11 |
| 授权公布号 | CN207634628U |
| 授权公告日 | 2018-07-20 |
| 分类号 | F16H7/08 |
| 分类 | 工程元件或部件;为产生和保持机器或设备的有效运行的一般措施;一般绝热; |
| 申请人名称 | 天津拖拉机制造有限公司 |
| 申请人地址 | 天津市宝坻区低碳工业区兴旺道1号 |
专利法律状态
2018-07-20
授权
状态信息
授权
摘要
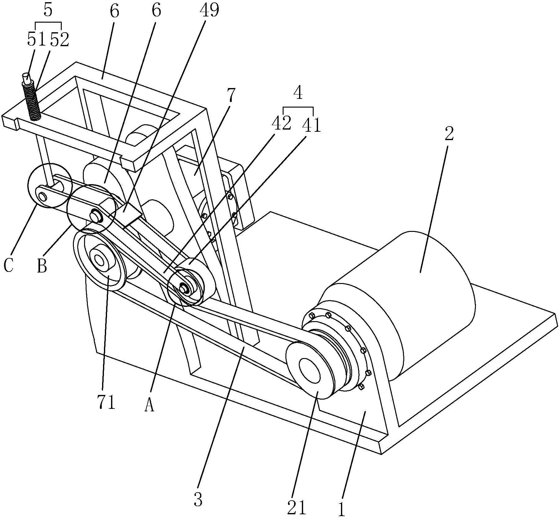
本实用新型公开了一种收获机皮带张紧装置,属于农用机械领域,其技术方案如下,包括发动机、皮带、液压油泵,所述发动机上转动连接有主动轮,所述液压油泵上转动连接有从动轮,所述皮带套接在主动轮与从动轮上,所述液压油泵上固连有泵架,所述泵架上设有张紧机构,所述张紧机构包括张紧轮、张紧架,所述张紧架为厂字形钢板,所述张紧架弯折端与泵架转动连接,所述张紧轮转动连接在张紧架一端且与皮带外圈端面抵接,所述张紧架另一端铰接有调节机构,所述调节机构使张紧轮向皮带内侧移动,具有传动稳定且动力损失较小的优点。


