授权公布号:CN217415835U
一种周转车
有效
申请
2022-02-16
申请公布
1970-01-01
授权
2022-09-13
预估到期
2032-02-16
| 申请号 | CN202220342514.5 |
| 申请日 | 2022-02-16 |
| 授权公布号 | CN217415835U |
| 授权公告日 | 2022-09-13 |
| 分类号 | B62B3/04 |
| 分类 | 无轨陆用车辆; |
| 申请人名称 | 内蒙古必威安泰生物科技有限公司 |
| 申请人地址 | 内蒙古自治区呼和浩特市和林格尔县盛乐经济园区师大东路 |
专利法律状态
2022-09-13
授权
状态信息
授权
摘要
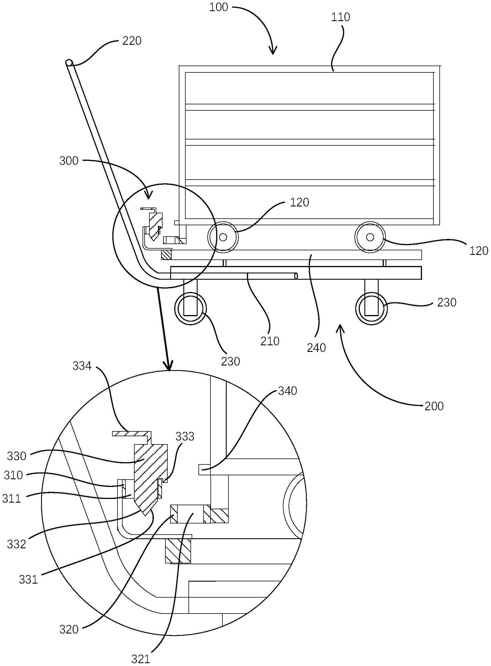
一种周转车,包括推车、周转架与连接结构,周转架在推车上沿第一方向移动,其中连接结构包括:第一连接环,第一连接环设置在推车上,第一连接环上垂直设置有第一连接孔;第二连接环,第二连接环设置在周转架上,第二连接环在第一连接孔下部相应位置设置有第二连接孔;连接销,连接销的尺寸与第一连接孔以及第二连接孔的尺寸相适配,连接销的底部朝向周转架一侧设置有第一斜面,第一斜面设置为越向上越靠近周转架,连接销朝向周转架一侧设置有钩挂部,连接销插入第一连接孔通过钩挂部钩挂在第一连接环上时,第一斜面位于第二连接环顶部相应位置。


