授权公布号:CN217626345U
一种自动上料装置
有效
申请
2022-06-28
申请公布
1970-01-01
授权
2022-10-21
预估到期
2032-06-28
| 申请号 | CN202221637289.4 |
| 申请日 | 2022-06-28 |
| 授权公布号 | CN217626345U |
| 授权公告日 | 2022-10-21 |
| 分类号 | B65G53/24;B65G53/46;B65G53/52;B65G53/66 |
| 分类 | 输送;包装;贮存;搬运薄的或细丝状材料; |
| 申请人名称 | 国药控股星鲨制药(厦门)有限公司 |
| 申请人地址 | 福建省厦门市海沧区新美路36号 |
专利法律状态
2022-10-21
授权
状态信息
授权
摘要
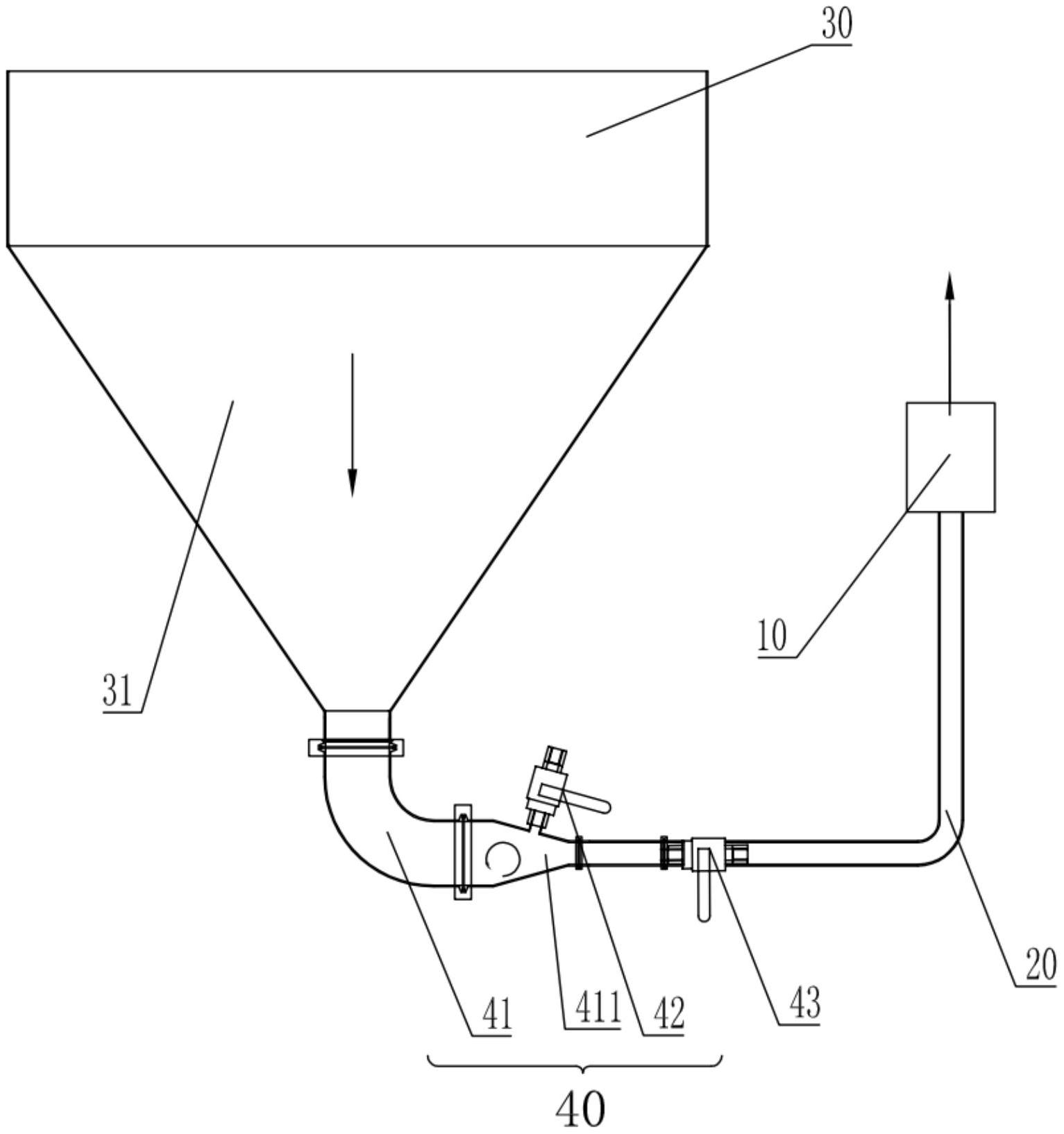
本实用新型提供了一种自动上料装置,包括真空吸料装置和输送管道,所述真空吸料装置能通过输送管道吸取物料,还包括:储料装置以及扰流装置;其中,所述储料装置设置于所述扰流装置上方,且连接所述扰流装置,适于使物料落入所述扰流装置内;所述扰流装置通过输送管道连接所述真空吸料装置,其包括有用于使外部气体进入的扰流阀,所述扰流阀配置为能通过控制气体进入使所述扰流装置与所述输送管道的连接处由真空状态变成开环状态。通过本实用新型方案,使得制药设备的上料更加自动化,且效率更高。


