授权公布号:CN217101374U
一种药品制剂生产用储存罐
有效
申请
2021-09-23
申请公布
1970-01-01
授权
2022-08-02
预估到期
2031-09-23
| 申请号 | CN202122305450.X |
| 申请日 | 2021-09-23 |
| 授权公布号 | CN217101374U |
| 授权公告日 | 2022-08-02 |
| 分类号 | B65D88/74;B01F27/90;B01F27/191;B01F33/40;B01F101/22N |
| 分类 | 输送;包装;贮存;搬运薄的或细丝状材料; |
| 申请人名称 | 上海东海制药股份有限公司 |
| 申请人地址 | 上海市杨浦区共青路486号 |
专利法律状态
2022-08-02
授权
状态信息
授权
摘要
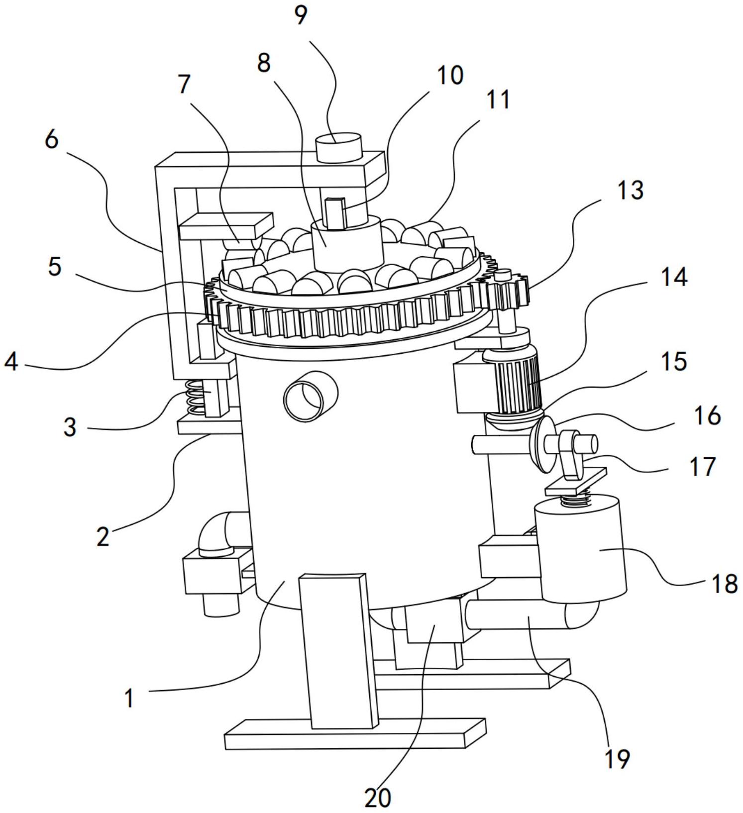
本实用新型公开了一种药品制剂生产用储存罐,涉及储存罐技术领域,包括罐体,罐体顶部盖设有转动罩板,双轴电机上驱动连接有用于传动转动罩板旋转的驱动机构,旋转轴侧壁安装有若干对处于罐体内部的分散板,罐体内底部安装有曝气盘,所述罐体侧壁安装有用于向曝气盘内部鼓气的鼓气机构;本实用新型通过设置的驱动机构能驱动转动罩板进行旋转,使得借助传动组件实现对旋转轴的驱动旋转作用,旋转轴带动其上的分散板旋转促进罐体内药剂的旋转分散,而同时分散板能在旋转过程中竖直往复运动,药剂均匀程度高;鼓气机构能对曝气盘注入压缩空气,通过压缩空气从曝气盘排出,促进药剂的翻动、分散,避免药剂储存过程中产生沉淀。


