授权公布号:CN217093204U
一种用于药品制剂生产的原料混合装置
有效
申请
2021-10-12
申请公布
1970-01-01
授权
2022-08-02
预估到期
2031-10-12
| 申请号 | CN202122455271.4 |
| 申请日 | 2021-10-12 |
| 授权公布号 | CN217093204U |
| 授权公告日 | 2022-08-02 |
| 分类号 | B01F31/44;B01F35/30;B01F101/22N |
| 分类 | 一般的物理或化学的方法或装置; |
| 申请人名称 | 上海东海制药股份有限公司 |
| 申请人地址 | 上海市杨浦区共青路486号 |
专利法律状态
2022-08-02
授权
状态信息
授权
摘要
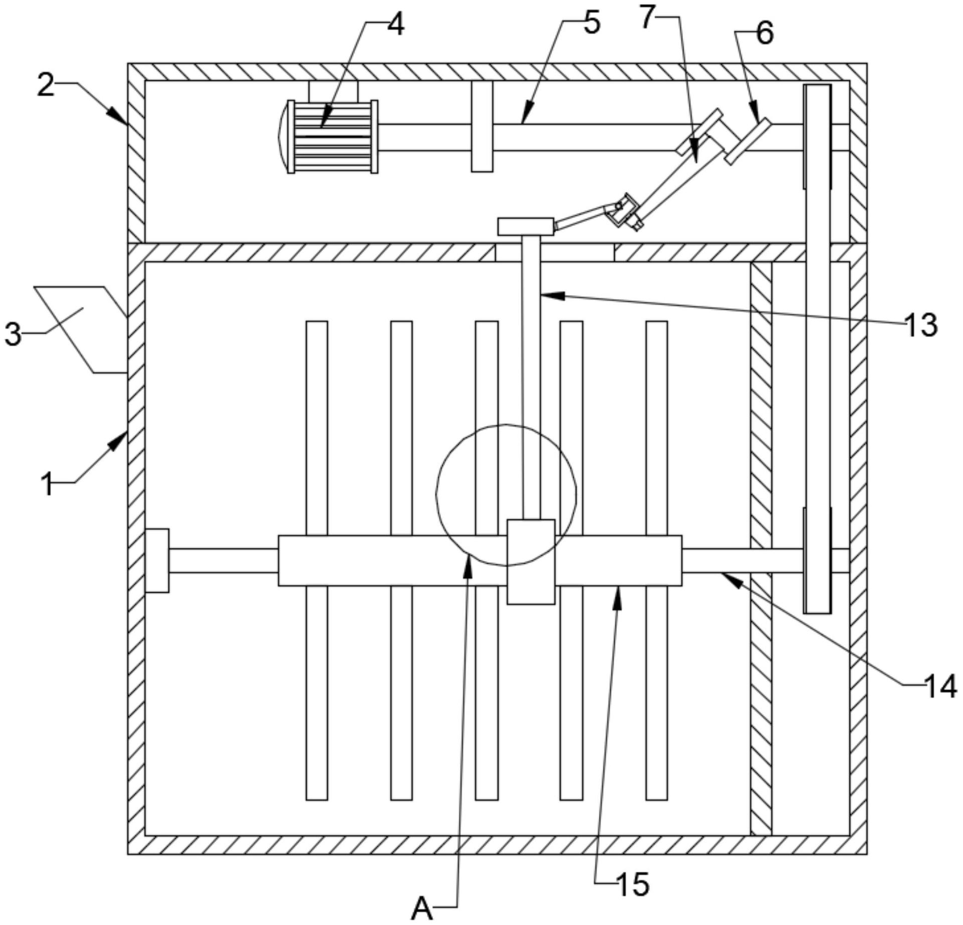
本实用新型适用于药品生产技术领域,提供了一种用于药品制剂生产的原料混合装置,包括搅拌箱,所述搅拌箱的顶部设置有驱动箱,所述搅拌箱上还设置有进料口,还包括:驱动机构,所述驱动包括电机,所述电机的输出端连接有驱动轴,所述驱动轴传动连接有从动轴,所述驱动轴上还设置有往复组件;搅拌组件,所述搅拌组件包括滑动安装于从动轴上的搅拌件,所述搅拌件上套设有连接轴承,所述连接轴承侧壁外部连接有传动杆,且所述传动杆与往复组件连接。该装置可对搅拌箱内部的药品原料进行搅拌混合的同时进行往复翻料,搅拌混合效率高,使用效果好。


