授权公布号:CN207242190U
一种带有杀菌功能的封口装置
有效
申请
2017-07-28
申请公布
1970-01-01
授权
2018-04-17
预估到期
2027-07-28
| 申请号 | CN201720930047.7 |
| 申请日 | 2017-07-28 |
| 授权公布号 | CN207242190U |
| 授权公告日 | 2018-04-17 |
| 分类号 | B65B55/08;B65B51/10;B65B51/32 |
| 分类 | 输送;包装;贮存;搬运薄的或细丝状材料; |
| 申请人名称 | 天津源达日化股份有限公司 |
| 申请人地址 | 天津市滨海新区经济技术开发区微电子工业区(天津源达日化股份有限公司) |
专利法律状态
2018-04-17
授权
状态信息
授权
摘要
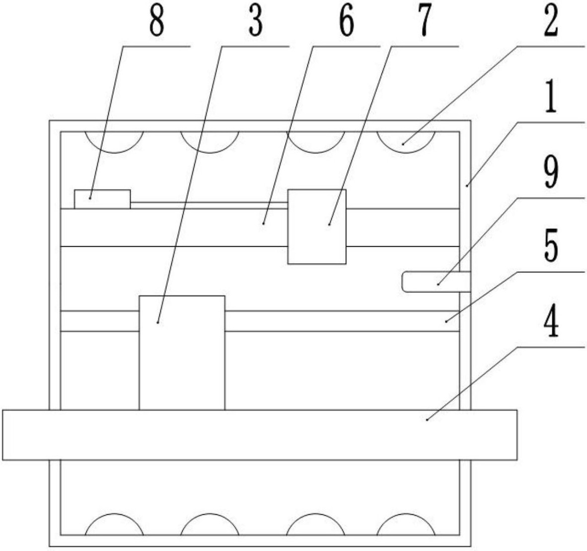
本实用新型提供一种带有杀菌功能的封口装置,包括机体,机体的内壁上设有若干紫外灯,机体的内部底端设有输送包装袋的传送带,机体的两侧对应传送带处设有进口和出口,机体内传送带的上方设有夹持板,夹持板的上方沿传送带方向设有支架,支架的前表面设有滑轨,滑轨上设有封口机,支架的上方设有控制封口机沿滑轨移动的气缸,机体的内部靠近出口的一侧还设有喷气管。本实用新型紫外灯的设置可对进入机体内的包装袋进行有效的杀菌,避免了专门杀菌工序,节省了人力,节约了生产成本;而且可以通过气缸控制封口机沿滑轨与传送带同步运动,这样就可以在输送的过程中直接进行封装,提高了工作效率。


