授权公布号:CN116605961B
一种温泉尾水回收装置
有效
申请
2023-05-19
申请公布
2023-08-18
授权
2024-02-09
预估到期
2043-05-19
| 申请号 | CN202310570507.X |
| 申请日 | 2023-05-19 |
| 申请公布号 | CN116605961A |
| 申请公布日 | 2023-08-18 |
| 授权公布号 | CN116605961B |
| 授权公告日 | 2024-02-09 |
| 分类号 | C02F1/52;C02F1/00;C02F103/42N |
| 分类 | 水、废水、污水或污泥的处理; |
| 申请人名称 | 深圳市艺水科技有限公司 |
| 申请人地址 | 广东省深圳市龙岗区坂田街道吉华路687号10楼 |
专利法律状态
2024-02-09
授权
状态信息
授权
2023-09-05
实质审查的生效
状态信息
实质审查的生效;IPC(主分类):C02F1/52;申请日:20230519
2023-08-18
公布
状态信息
公布
摘要
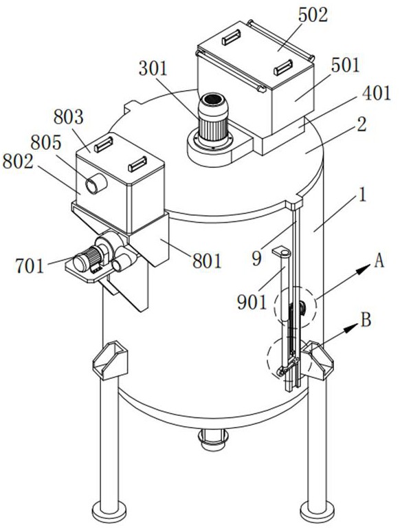
本发明涉及温泉尾水处理装置技术领域,具体的说是一种温泉尾水回收装置,包括储水桶;密封盖,所述储水桶的顶端卡合有密封盖;下料结构,所述密封盖上设有下料结构;除杂结构,所述储水桶上设有除杂结构;污泥泵,所述储水桶的底端安装有污泥泵;启闭结构,通过启闭结构能够实现密封盖的自动开启与关闭,当密封盖开启后其会自动的转动至储水桶的一侧,使其不对搅拌结构进行抵挡,此时直接将搅拌结构从储水桶的内部取出即可,取出后方便对搅拌结构进行全方位的清理,能够减轻其重量,减轻驱动结构的驱动阻力,减小了损耗。


