授权公布号:CN217812617U
多级温度的温泉池
有效
申请
2022-06-24
申请公布
1970-01-01
授权
2022-11-15
预估到期
2032-06-24
| 申请号 | CN202221591447.7 |
| 申请日 | 2022-06-24 |
| 授权公布号 | CN217812617U |
| 授权公告日 | 2022-11-15 |
| 分类号 | E04H4/04;E04H4/12;E04H4/16;E04H4/14 |
| 分类 | 建筑物; |
| 申请人名称 | 深圳市艺水科技有限公司 |
| 申请人地址 | 广东省深圳市龙岗区坂田街道吉华路687号10楼 |
专利法律状态
2022-11-15
授权
状态信息
授权
摘要
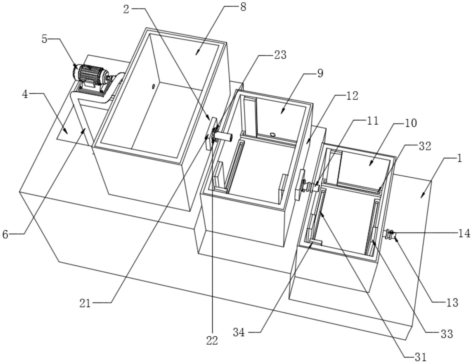
本实用新型公开了多级温度的温泉池,涉及温泉池技术领域,包括支撑物本体,支撑物本体的顶部设有两个密闭组件,支撑物本体的顶端固定连接有水泵,支撑物本体的顶端固定连接有第一温泉池,支撑物本体的顶端固定连接有第二温泉池,支撑物本体的顶端固定连接有第三温泉池,第二温泉池的内侧与第三温泉池的内侧均固定连接有四个刷洗组件,本实用新型的有益效果是:通过滑槽便于了滑板的滑动,便于通过推动刷板对内壁进行刷洗,其中第一温泉池的内部也可设置刷板,那么就便于了对第一温泉池、第二温泉池和第三温泉池内壁的刷洗,便于了后续对第一温泉池、第二温泉池和第三温泉池的大扫除清洗,操作简便。


