授权公布号:CN217314174U
一种凝胶均匀涂覆的涂布装置
有效
申请
2022-04-24
申请公布
1970-01-01
授权
2022-08-30
预估到期
2032-04-24
| 申请号 | CN202220995712.1 |
| 申请日 | 2022-04-24 |
| 授权公布号 | CN217314174U |
| 授权公告日 | 2022-08-30 |
| 分类号 | B05C1/08;B05C11/10 |
| 分类 | 一般喷射或雾化;对表面涂覆液体或其他流体的一般方法〔2〕; |
| 申请人名称 | 珠海国佳新材股份有限公司 |
| 申请人地址 | 广东省珠海市三灶科技工业园机场西路697号 |
专利法律状态
2022-08-30
授权
状态信息
授权
摘要
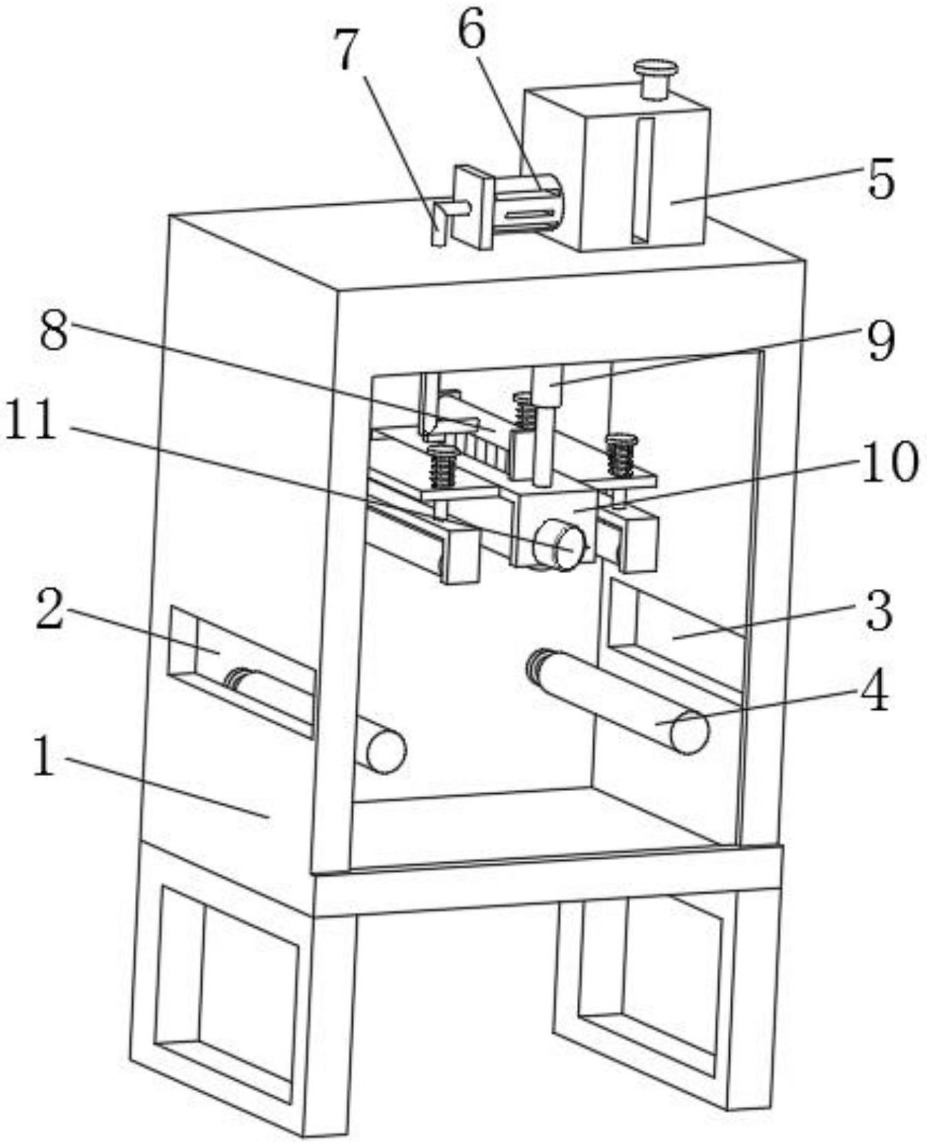
本实用新型公开了一种凝胶均匀涂覆的涂布装置,包括加工箱体,所述加工箱体的两侧分别开设有进料口和出料口,所述加工箱体的内壁通过轴承转动连接有支撑辊,所述加工箱体的顶部固定连接有物料箱,所述物料箱的一侧固定连接有出料泵,所述出料泵的输出端固定连接有连接软管,所述连接软管的一端贯穿加工箱体固定连接有固定管。本实用新型通过出料泵、连接软管、固定管和电动推杆之间的配合下,使其可以物料箱内的凝胶进行输送,然后均匀的喷涂在滚刷辊,然后通过伺服电机带动滚刷辊进行旋转,从而便于均匀的对布料的表面进行涂胶,进而有效的避免了直接涂布时无法保证凝胶涂布的厚度,因此即可降低了生产的成本。


