授权公布号:CN217573015U
一种凝胶退热贴生产用水凝胶涂布分切装置
有效
申请
2022-04-26
申请公布
1970-01-01
授权
2022-10-14
预估到期
2032-04-26
| 申请号 | CN202220979980.4 |
| 申请日 | 2022-04-26 |
| 授权公布号 | CN217573015U |
| 授权公告日 | 2022-10-14 |
| 分类号 | B26D1/06;B26D7/26;B26D7/02 |
| 分类 | 手动切割工具;切割;切断; |
| 申请人名称 | 珠海国佳新材股份有限公司 |
| 申请人地址 | 广东省珠海市三灶科技工业园机场西路697号 |
专利法律状态
2022-10-14
授权
状态信息
授权
摘要
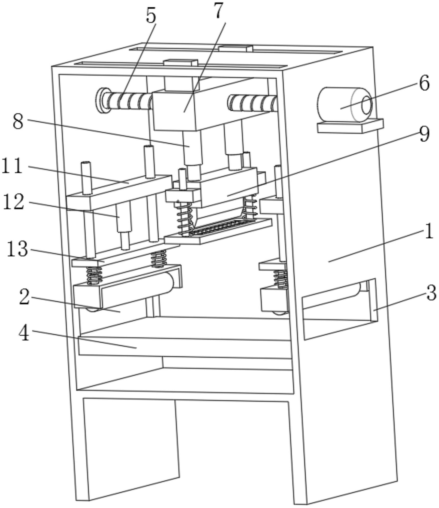
本实用新型公开了一种凝胶退热贴生产用水凝胶涂布分切装置,包括加工柜,所述加工柜的两侧分别开设有进料口和出料口,所述加工柜的内壁固定连接有支撑板,所述加工柜的内壁通过轴承转动连接有螺纹杆,所述加工柜的一侧固定连接有伺服电机,所述伺服电机的输出端通过联轴器固定连接螺纹杆,所述螺纹杆的表面通过螺纹连接有螺纹座,所述螺纹座的底部固定连接有液压缸。本实用新型通过螺纹杆、伺服电机、螺纹座和液压缸之间的配合下,使得可以对刀具架固定的分切刀的位置进行调节,从而方便了工作人员可以根据对水凝胶涂布分切的宽度进行调节,避免了无法将水凝胶涂布切割成不同宽度,导致需要进行二次加工,浪费工作时间。


