授权公布号:CN204282740U
一种强化拼花地板
失效
申请
2014-11-07
申请公布
1970-01-01
授权
2015-04-22
预估到期
2024-11-07
| 申请号 | CN201420660992.6 |
| 申请日 | 2014-11-07 |
| 授权公布号 | CN204282740U |
| 授权公告日 | 2015-04-22 |
| 分类号 | E04F15/02;E04F15/04 |
| 分类 | 建筑物; |
| 申请人名称 | 浙江上臣家居科技有限公司 |
| 申请人地址 | 浙江省湖州市南浔区南浔镇科技工业园区(丁家港) |
专利法律状态
2019-11-01
专利权的终止
状态信息
未缴年费专利权终止;IPC(主分类):E04F 15/02;专利号:ZL2014206609926;申请日:20141107;授权公告日:20150422;终止日期:20181107
2015-04-22
实用新型专利权授予
状态信息
授权
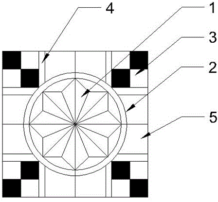
摘要
本实用新型提供一种强化拼花地板,它包括有不同花色的小三角形、外环、正方块;其中,若干个小三角形拼接形成中心八角星形,八角星形顶点外接有外环,外环与八角形之间的间隙处地板外表面低于八角星形与外环的外表面;外环的四个45°对角处各设一组方块,方块外侧拼接有长方框条,相邻长方框条之间通过两块异形块分隔;拼接地板的所有部件侧边均设有连接位,其中两条边的连接位为凹槽,另两条为相配合的凸条,所述的连接位的顶面和侧面为直线,底部呈弧状。本方案的优点在于拼接方便,拼接后具有较强的凹凸立体感。制作过程简单、环保,其应用前景广阔。


