授权公布号:CN217355524U
一种磨浆机密封结构
有效
申请
2021-12-29
申请公布
1970-01-01
授权
2022-09-02
预估到期
2031-12-29
| 申请号 | CN202123381829.5 |
| 申请日 | 2021-12-29 |
| 授权公布号 | CN217355524U |
| 授权公告日 | 2022-09-02 |
| 分类号 | F16J15/02;F16J15/12;B02C23/00 |
| 分类 | 工程元件或部件;为产生和保持机器或设备的有效运行的一般措施;一般绝热; |
| 申请人名称 | 劲仔食品集团股份有限公司 |
| 申请人地址 | 湖南省岳阳市平江县伍市镇平江高新技术产业园区 |
专利法律状态
2022-09-02
授权
状态信息
授权
摘要
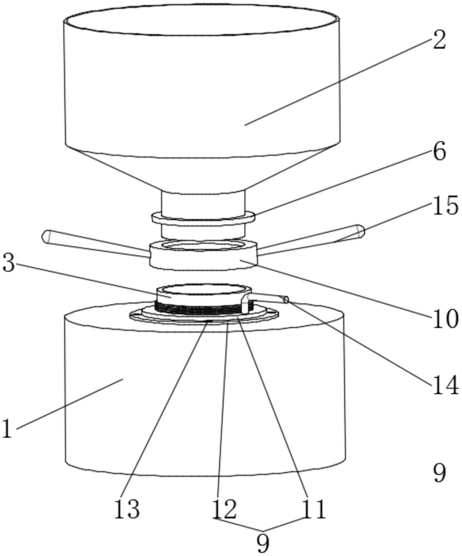
本实用新型公开了一种磨浆机密封结构,属于磨浆机技术领域,该一种磨浆机密封结构,包括机体和下料斗,还包括紧固组件,所述机体顶端设置有和所述下料斗相配合的进料口,所述下料斗上设置有对所述下料斗和所述进料口连接处进行密封的密封组件,所述密封组件包括密封圈和固定连接在所述下料斗上的密封环,所述密封环上设置有放置所述密封圈的凹槽。通过在下料斗的底部外壁上通过焊接等方式将密封环固定在下料斗上,同时密封环上设置有容纳密封圈的凹槽,密封环和密封圈共同组成密封组件,从而对下料斗和进料口之间的连接处进行密封,将原有的不锈钢‑不锈钢过盈配合变为橡胶‑金属过盈配合,增强其密封性能。


