授权公布号:CN210496731U
一种用于提取葡萄抗氧化物质的研磨装置
有效
申请
2019-06-03
申请公布
1970-01-01
授权
2020-05-12
预估到期
2029-06-03
| 申请号 | CN201920821089.6 |
| 申请日 | 2019-06-03 |
| 授权公布号 | CN210496731U |
| 授权公告日 | 2020-05-12 |
| 分类号 | B02C19/00;B02C23/16;B02C15/16 |
| 分类 | 破碎、磨粉或粉碎;谷物碾磨的预处理; |
| 申请人名称 | 湖南康琪壹佰生物科技有限公司 |
| 申请人地址 | 湖南省株洲市高新区橡果园长江南路8号 |
专利法律状态
2020-05-12
授权
状态信息
授权
摘要
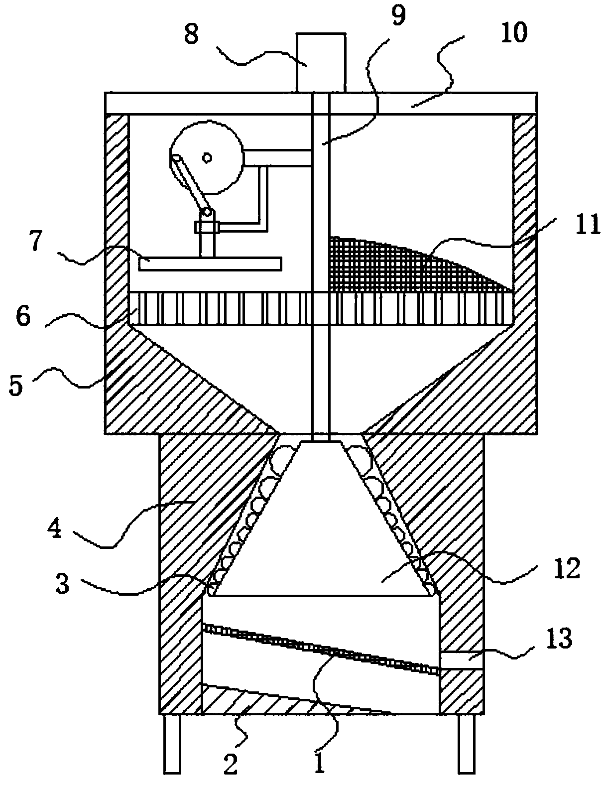
本实用新型属于研磨装置领域,尤其是一种用于提取葡萄抗氧化物质的研磨装置,现提出如下方案,其包括壳体和基体,基体上开有下料通道,所述壳体的底端安装有基体,基体的底端安装有支撑架,壳体的顶端开口处安装有横杆,横杆的顶端中间位置安装有电动机一,电动机一的输出轴连接有转动连接在壳体内的转轴,壳体的内部安装有筛盘,转轴的侧壁上安装有刮料板和对筛盘上物料进行破碎的破碎机构,刮料板与筛盘的顶壁滑动连接,转轴的底端连接有转动连接在下料通道顶端的研磨块,研磨块的侧壁上设有研磨凸起。本装置能够实现对物料的二次粉碎研磨,加工效果好。


