授权公布号:CN112495908B
一种润喉糖生产用糖粒模具清理装置
有效
申请
2020-12-01
申请公布
2021-03-16
授权
2022-07-22
预估到期
2040-12-01
| 申请号 | CN202011383015.2 |
| 申请日 | 2020-12-01 |
| 申请公布号 | CN112495908A |
| 申请公布日 | 2021-03-16 |
| 授权公布号 | CN112495908B |
| 授权公告日 | 2022-07-22 |
| 分类号 | B08B3/02;B08B13/00 |
| 分类 | 清洁; |
| 申请人名称 | 湖南康琪壹佰生物科技有限公司 |
| 申请人地址 | 湖南省株洲市高新区橡果园长江南路8号 |
专利法律状态
2022-07-22
授权
状态信息
授权
2021-03-16
公布
状态信息
公布
摘要
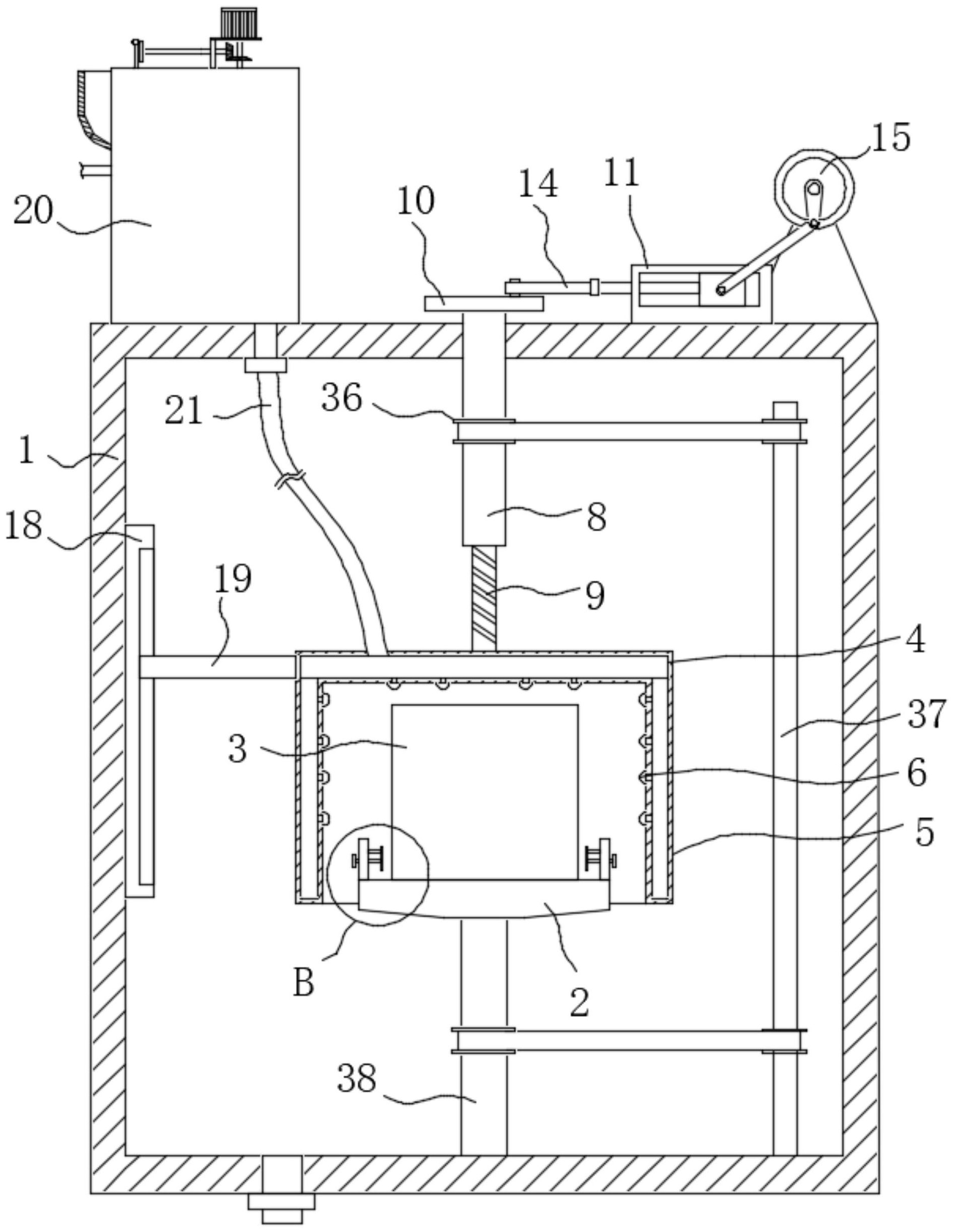
本发明涉及食品生产加工技术领域,公开了一种润喉糖生产用糖粒模具清理装置,包括箱体一,箱体一内设置有用于承载模具的载台,载台的上方设置有用于罩设模具的喷淋组件,箱体一上设置有用于引导喷淋组件在竖直方向作往复运动的驱动机构一。通过箱体一内设置的喷淋组件以及用于引导所述喷淋组件在竖直方向作往复运动的驱动机构一,可对多方位的清洗模具,使对模具的清洗更加充分彻底,避免影响模具的表面质量和使用寿命。


